专利数据库
统计分析
产业报告
专利数据监控
产业人才
行业动态
产业政策法规
维权援助
个人中心
详情
文本
图像
标题
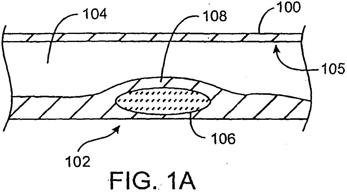
Cryotherapy method for detecting and treating vulnerable plaque
授权日
1900-01-01
公开(公告)号
EP1603475A4
申请日
2004-03-05
公开(公告)日
2008-02-27
当前申请(专利权)人
CRYOVASCULAR SYSTEMS, INC.
发明人
JOYE, JAMES | TATSUTANI, KRISTINE | WILLIAMS, JOSEPH, J.
简单同族
AT488193T | AU2004220609A1 | CA2518444A1 | DE602004030097D1 | EP1603475A2 | EP1603475A4 | EP1603475B1 | JP2006521878A | JP4871719B2 | US20040002749A1 | US20060015092A1 | US20100318075A1 | US6955174 | US7780608 | US8029449 | WO2004080280A2 | WO2004080280A3
简单同族成员数量
17
简单同族被引用专利总数
184
诉讼案件数
0
法律状态/事件
授权
抱歉,您的浏览器不支持PDF预览,请点击链接下载PDF文件