专利数据库
统计分析
产业报告
专利数据监控
产业人才
行业动态
产业政策法规
维权援助
个人中心
详情
文本
图像
标题
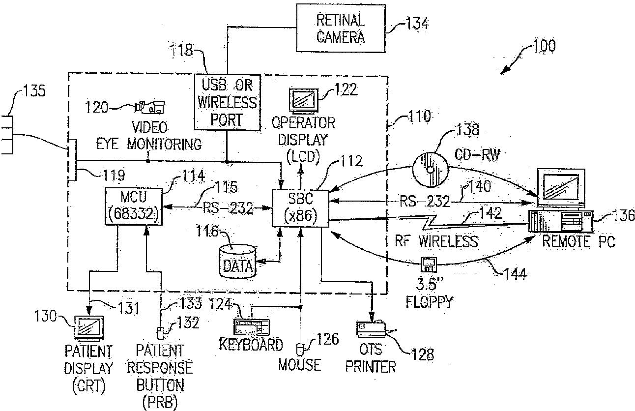
Diagnosis of optically identifiable ophthalmic conditions
授权日
1900-01-01
公开(公告)号
EP1931240A4
申请日
2006-08-16
公开(公告)日
2009-11-18
当前申请(专利权)人
WELCH ALLYN, INC.
发明人
NEWMAN, RICHARD W. | FAHRENKRUG, CORINN C.
简单同族
AU2006317700A1 | CA2622132A1 | EP1931240A1 | EP1931240A4 | JP2009515568A | US20060025658A1 | US20100014050A1 | US20100238404A1 | US20100238405A1 | US20140176134A1 | US20170147750A1 | US7575321 | US8075136 | US8439501 | US8702234 | US9563742 | WO2007061469A1
简单同族成员数量
17
简单同族被引用专利总数
84
诉讼案件数
0
法律状态/事件
撤回
抱歉,您的浏览器不支持PDF预览,请点击链接下载PDF文件