专利数据库
统计分析
产业报告
专利数据监控
产业人才
行业动态
产业政策法规
维权援助
个人中心
详情
文本
图像
标题
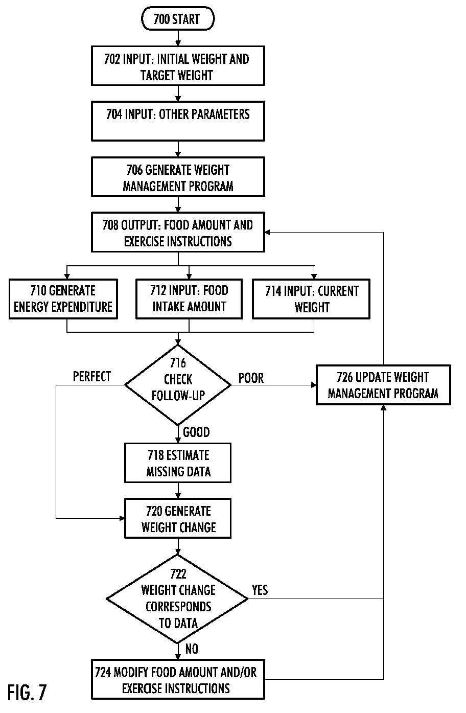
Method and device for weight management of humans
授权日
1900-01-01
公开(公告)号
EP1473655A1
申请日
2003-08-06
公开(公告)日
2004-11-03
当前申请(专利权)人
POLAR ELECTRO OY
发明人
NISSILÄ, SEPPO | NISSILÄ, JUUSO | KINNUNEN, HANNU
简单同族
EP1473655A1 | EP1473655B1 | FI117959B | FI20030647A | FI20030647A0 | US20050004436A1 | US7361141
简单同族成员数量
7
简单同族被引用专利总数
71
诉讼案件数
0
法律状态/事件
授权
抱歉,您的浏览器不支持PDF预览,请点击链接下载PDF文件