专利数据库
统计分析
产业报告
专利数据监控
产业人才
行业动态
产业政策法规
维权援助
个人中心
详情
文本
图像
标题
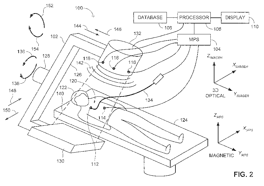
System and method for superimposing a representation of the tip of a catheter on an image acquired by a moving imager
授权日
1900-01-01
公开(公告)号
EP1944733A2
申请日
2008-01-07
公开(公告)日
2008-07-16
当前申请(专利权)人
ST. JUDE MEDICAL INTERNATIONAL HOLDING S.À R.L.
发明人
STROMMER, GERA | EICHLER, UZI | SCHWARTZ, LIAT | SHIMARAK, ITZIK
简单同族
CA2616291A1 | CA2616291C | EP1944733A2 | EP1944733A3 | EP1944733B1 | IL188262A | IL188262D0 | JP2008178686A | US20080183071A1
简单同族成员数量
9
简单同族被引用专利总数
207
诉讼案件数
0
法律状态/事件
授权 | 权利转移
抱歉,您的浏览器不支持PDF预览,请点击链接下载PDF文件