专利数据库
统计分析
产业报告
专利数据监控
产业人才
行业动态
产业政策法规
维权援助
个人中心
详情
文本
图像
标题
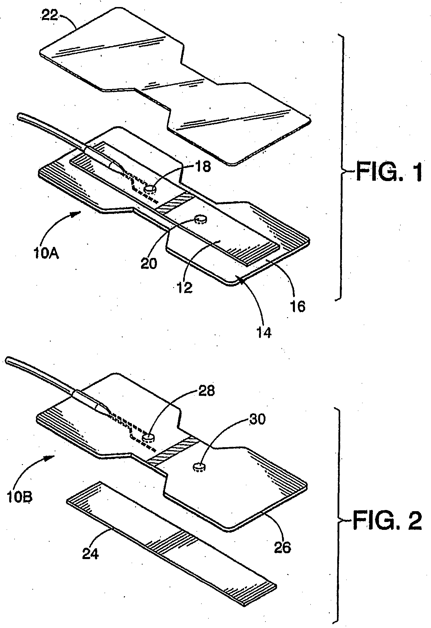
Medical sensor
授权日
2016-04-20
公开(公告)号
EP1928303B1
申请日
2006-09-29
公开(公告)日
2016-04-20
当前申请(专利权)人
COVIDIEN LP
发明人
HOARAU, CARINE | BAKER, CLARK, R. | KARST, EDWARD
简单同族
EP1928303A1 | EP1928303B1 | TW200727868A | TWI425936B | US20070073121A1 | US20070073125A1 | US20070073128A1 | US20120035443A1 | US7650177 | US7869850 | US8060171 | US8965473 | WO2007041296A1
简单同族成员数量
13
简单同族被引用专利总数
171
诉讼案件数
0
法律状态/事件
权利终止 | 权利转移
抱歉,您的浏览器不支持PDF预览,请点击链接下载PDF文件