专利数据库
统计分析
产业报告
专利数据监控
产业人才
行业动态
产业政策法规
维权援助
个人中心
详情
文本
图像
标题
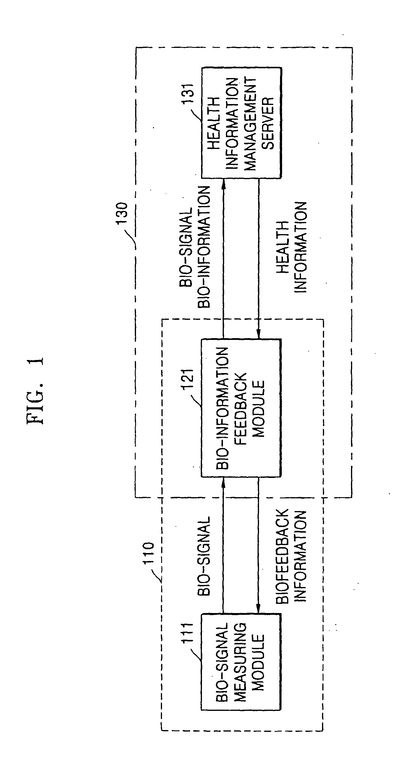
Training control method and apparatus using biofeedback
授权日
2011-11-09
公开(公告)号
EP1512370B1
申请日
2004-09-02
公开(公告)日
2011-11-09
当前申请(专利权)人
SAMSUNG ELECTRONICS CO., LTD.
发明人
YEO, HYUNG-SOK, 201-903 WOORIM APT. | PARK, JAE-CHAN, 104-1101 JUKHYEON MAEUL LG XI APT. | SHIN, KUN-SOO, C/O 110-117 SAETBYEOL MAEUL LIFE APT. | KIM, KYUNG-HO, 602-1304 GANGNAM MAEUL SUMMIT VILL | LEE, JEONG-HWAN, C/O 114-1502 BYUCKSAN APT. | KIM, YOUN-HO 137-1704 HWANGGOL MAEUL JUGONG 1-DANJI APT.
简单同族
EP1512370A1 | EP1512370B1 | JP2005087731A | JP4444767B2 | KR100601932B1 | KR1020050024123A | US20050124463A1 | US7618347
简单同族成员数量
8
简单同族被引用专利总数
188
诉讼案件数
0
法律状态/事件
授权 | 权利转移
抱歉,您的浏览器不支持PDF预览,请点击链接下载PDF文件