专利数据库
统计分析
产业报告
专利数据监控
产业人才
行业动态
产业政策法规
维权援助
个人中心
详情
文本
图像
标题
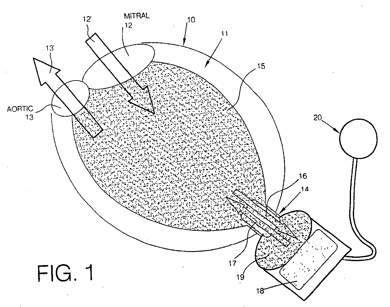
Single cannula ventricular-assist apparatus
授权日
1900-01-01
公开(公告)号
EP1258259A3
申请日
2002-05-16
公开(公告)日
2003-11-26
当前申请(专利权)人
LEVRAM MEDICAL DEVICES, LTD.
发明人
LANDESBERG, AMIR
简单同族
CA2385681A1 | EP1258259A2 | EP1258259A3 | JP2003047656A | US20020173693A1 | US6511413
简单同族成员数量
6
简单同族被引用专利总数
171
诉讼案件数
0
法律状态/事件
撤回
抱歉,您的浏览器不支持PDF预览,请点击链接下载PDF文件