专利数据库
统计分析
产业报告
专利数据监控
产业人才
行业动态
产业政策法规
维权援助
个人中心
详情
文本
图像
标题
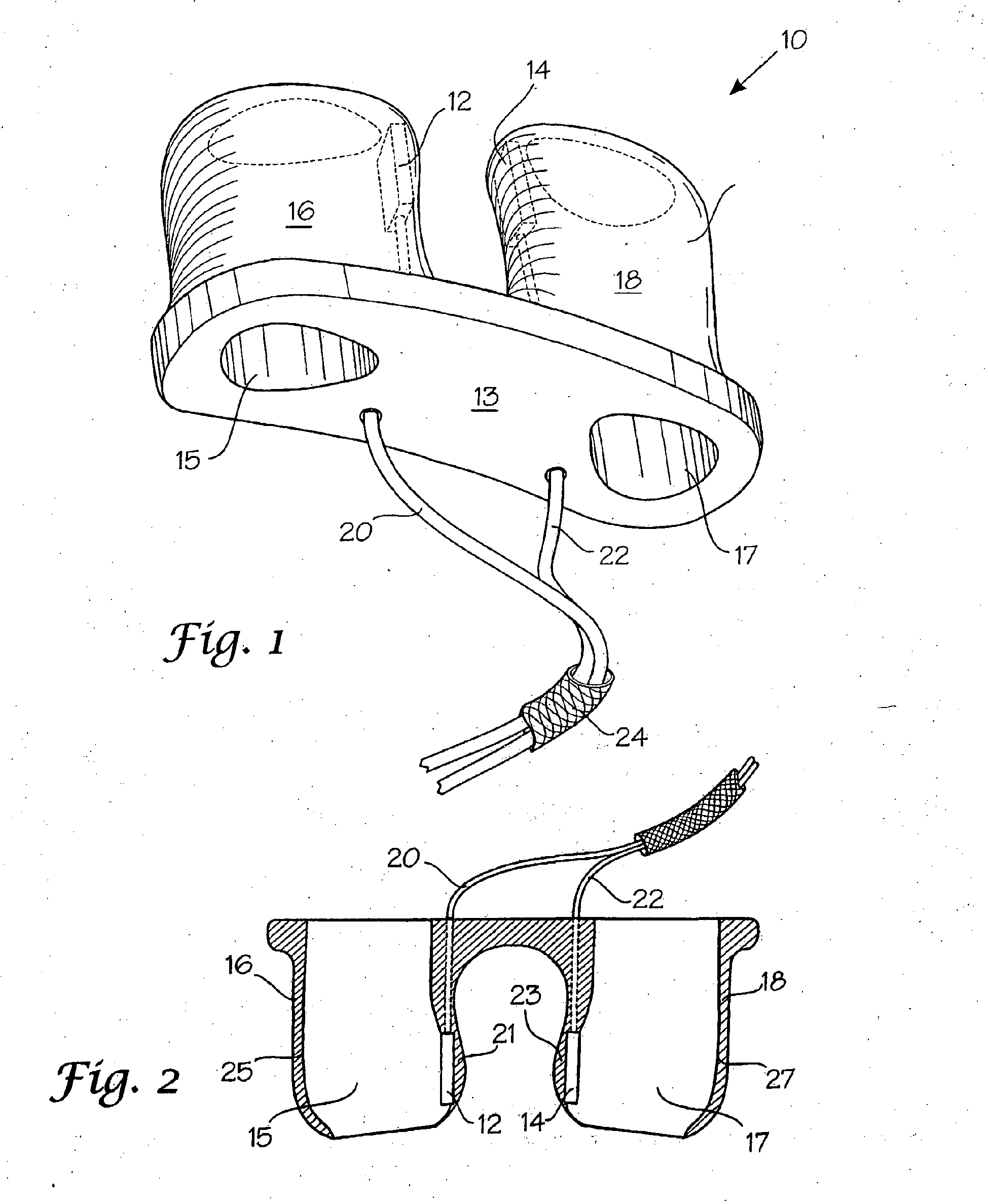
A method of isolating an ac component from a raw plethysmography signal
授权日
2015-03-11
公开(公告)号
EP1776037B1
申请日
2005-08-10
公开(公告)日
2015-03-11
当前申请(专利权)人
UNIVERSITY OF FLORIDA RESEARCH FOUNDATION, INC. | BETA BIOMED SERVICES, INC.
发明人
MELKER, RICHARD, J. | BANNER, MICHAEL, J. | FUEHRLEIN, BRIAN, S. | WORLEY, GEORGE, E. | EULIANO, NEIL, R.
简单同族
AT556654T | EP1776037A2 | EP1776037A4 | EP1776037B1 | EP2583624A1 | JP2007518480A | JP2008515465A | JP4751338B2 | JP5134367B2 | US20080058621A1 | US8679028 | WO2006086010A2 | WO2006086010A3 | WO2006086010A9
简单同族成员数量
14
简单同族被引用专利总数
67
诉讼案件数
0
法律状态/事件
授权
抱歉,您的浏览器不支持PDF预览,请点击链接下载PDF文件