专利数据库
统计分析
产业报告
专利数据监控
产业人才
行业动态
产业政策法规
维权援助
个人中心
详情
文本
图像
标题
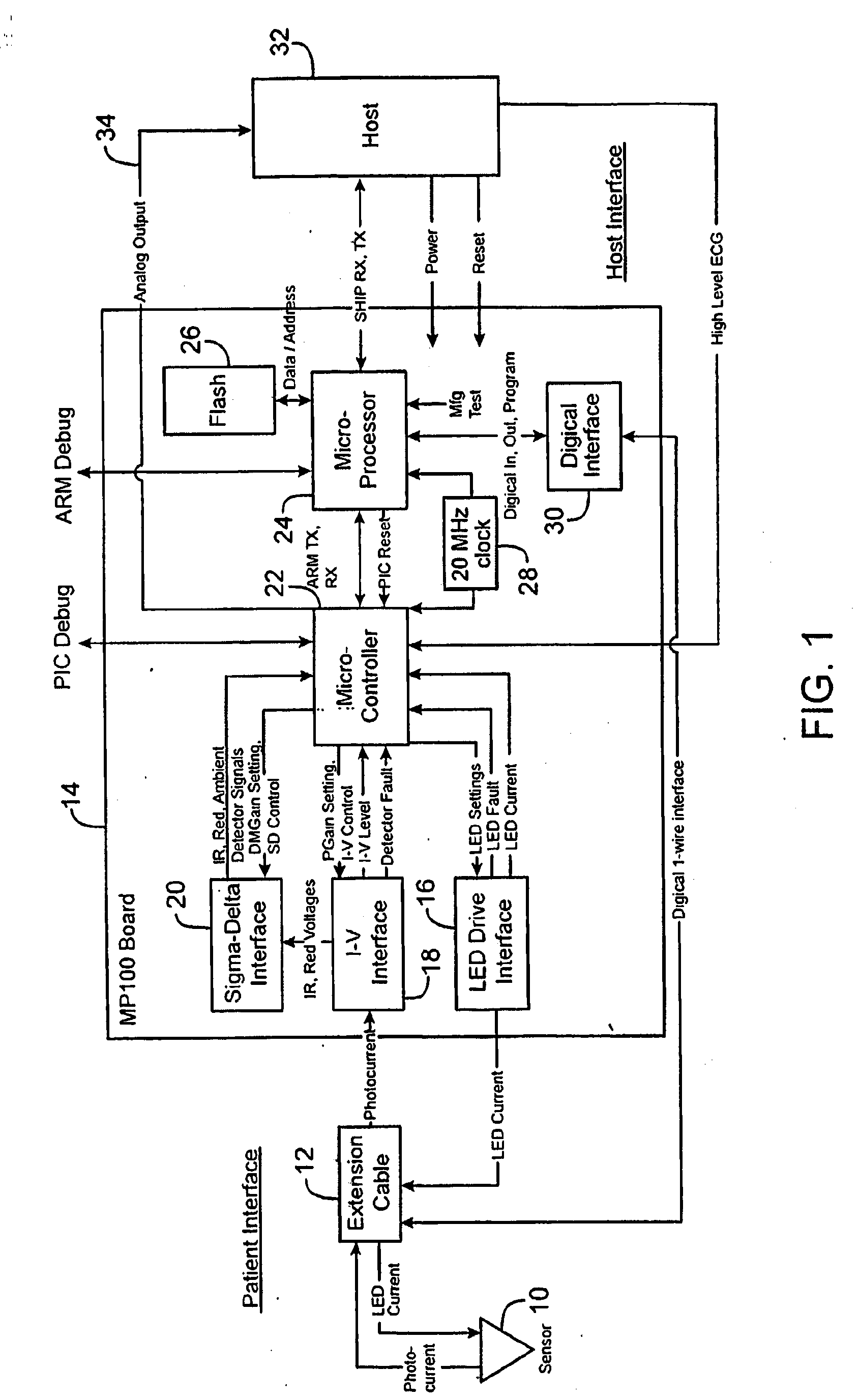
Oximeter ambient light cancellation
授权日
2008-08-06
公开(公告)号
EP1722675B1
申请日
2005-02-24
公开(公告)日
2008-08-06
当前申请(专利权)人
NELLCOR PURITAN BENNETT INCORPORATED
发明人
PETERSEN, ETHAN | SHEA, WILLIAM | CHEW, BRADFORD, B.
简单同族
AT403397T | AU2005216985A1 | CA2556748A1 | CA2556748C | CN1933769A | DE602005008718D1 | EP1722675A1 | EP1722675B1 | ES2311980T3 | HK1100517A | JP2007523717A | KR1020070024488A | MXPA06009755A | US20050187448A1 | US20060264721A1 | US20090005662A1 | US20130123593A1 | US7190985 | US7400919 | US8315684 | US8874181 | WO2005082242A1
简单同族成员数量
22
简单同族被引用专利总数
172
诉讼案件数
0
法律状态/事件
授权
抱歉,您的浏览器不支持PDF预览,请点击链接下载PDF文件