专利数据库
统计分析
产业报告
专利数据监控
产业人才
行业动态
产业政策法规
维权援助
个人中心
详情
文本
图像
标题
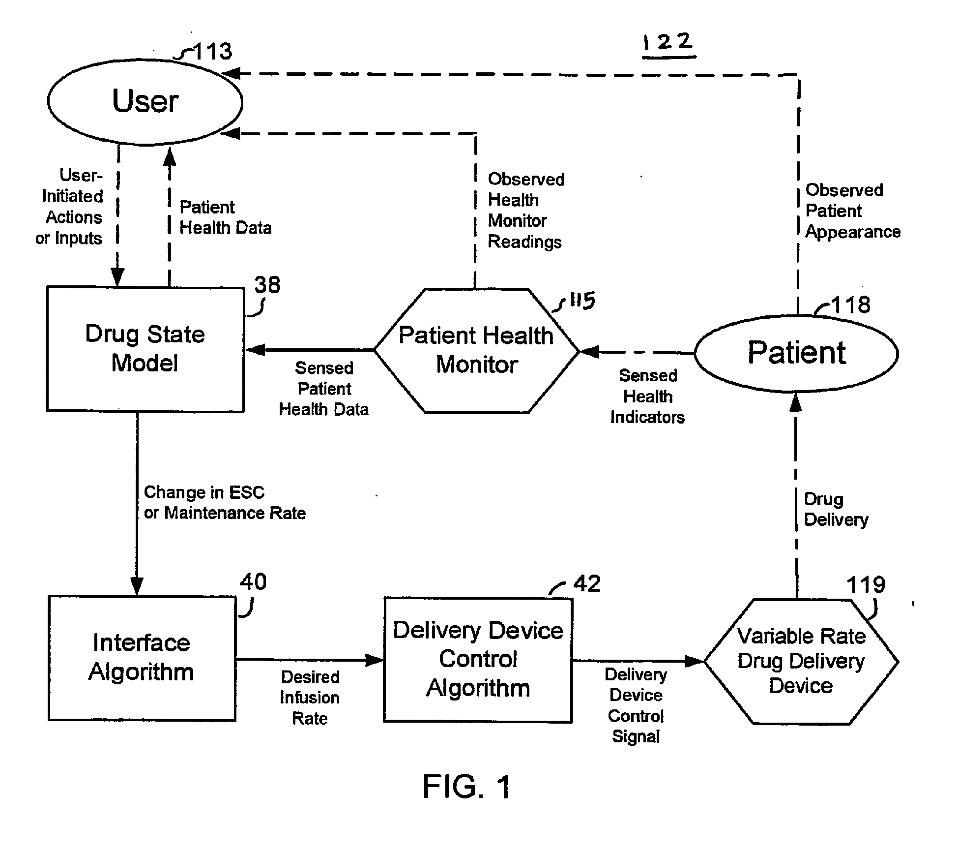
Apparatuses and methods for titrating drug delivery
授权日
2013-06-26
公开(公告)号
EP1418976B1
申请日
2002-07-31
公开(公告)日
2013-06-26
当前申请(专利权)人
SCOTT LABORATORIES, INC.
发明人
HICKLE, RANDALL, S. | DEROUEN, JASON
简单同族
AU2002322761A1 | AU2002322761B2 | CA2455978A1 | CA2455978C | CN1561241A | CN1561241B | EP1418976A2 | EP1418976A4 | EP1418976B1 | ES2429688T3 | HK1064969A | JP2005509465A | JP2005509465A5 | JP4495962B2 | MXPA04001064A | US20030051737A1 | US7229430 | WO2003011358A2 | WO2003011358A3
简单同族成员数量
19
简单同族被引用专利总数
169
诉讼案件数
0
法律状态/事件
权利终止
抱歉,您的浏览器不支持PDF预览,请点击链接下载PDF文件