专利数据库
统计分析
产业报告
专利数据监控
产业人才
行业动态
产业政策法规
维权援助
个人中心
详情
文本
图像
标题
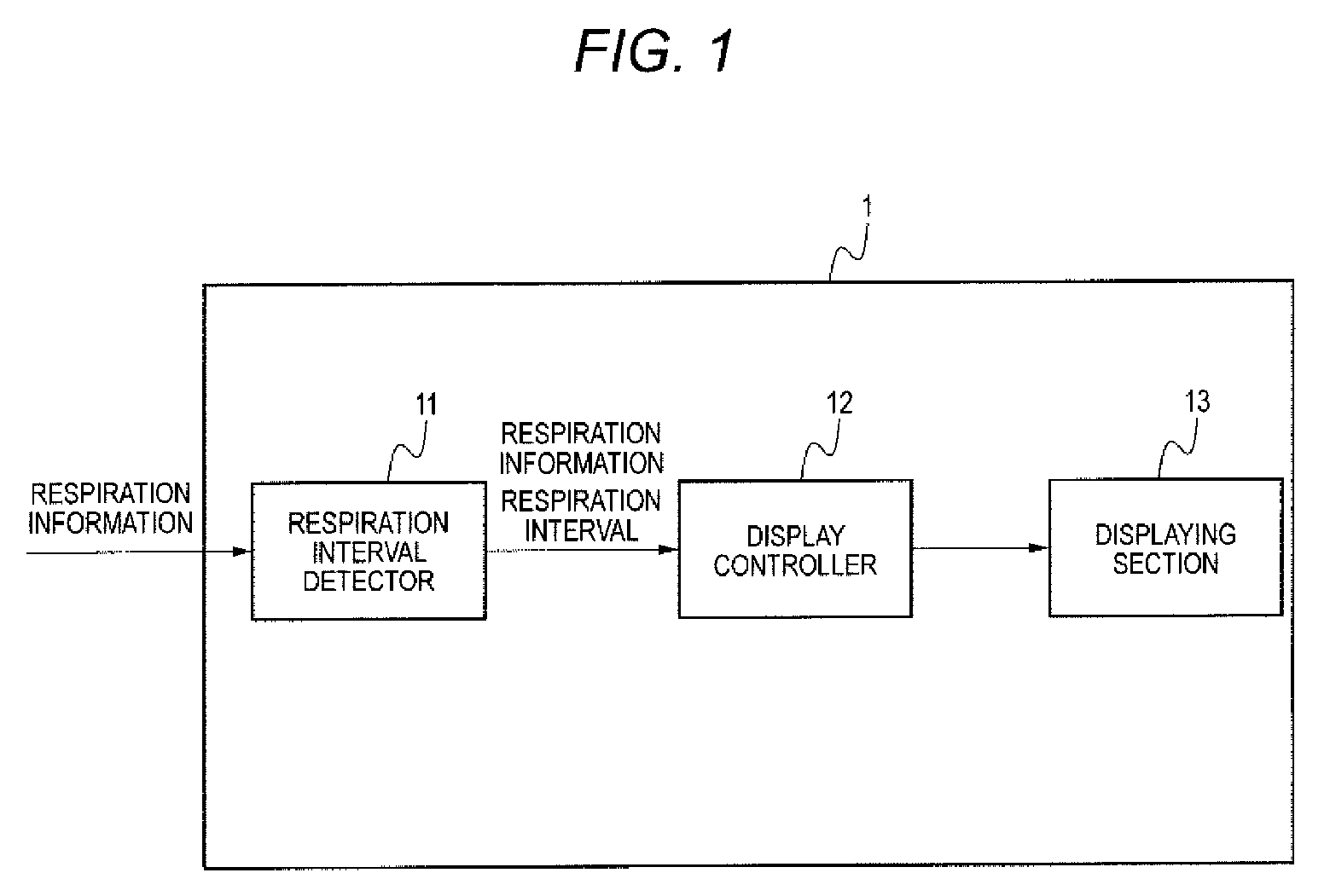
Physiological information measuring apparatus, respiration interval displaying method, and program
授权日
1900-01-01
公开(公告)号
EP3127479A1
申请日
2016-08-08
公开(公告)日
2017-02-08
当前申请(专利权)人
NIHON KOHDEN CORPORATION
发明人
AOKI, TOSHIKI | INOUE, MASAYUKI | HAGIWARA, HIROKO
简单同族
EP3127479A1
简单同族成员数量
1
简单同族被引用专利总数
0
诉讼案件数
0
法律状态/事件
撤回
抱歉,您的浏览器不支持PDF预览,请点击链接下载PDF文件