专利数据库
统计分析
产业报告
专利数据监控
产业人才
行业动态
产业政策法规
维权援助
个人中心
详情
文本
图像
标题
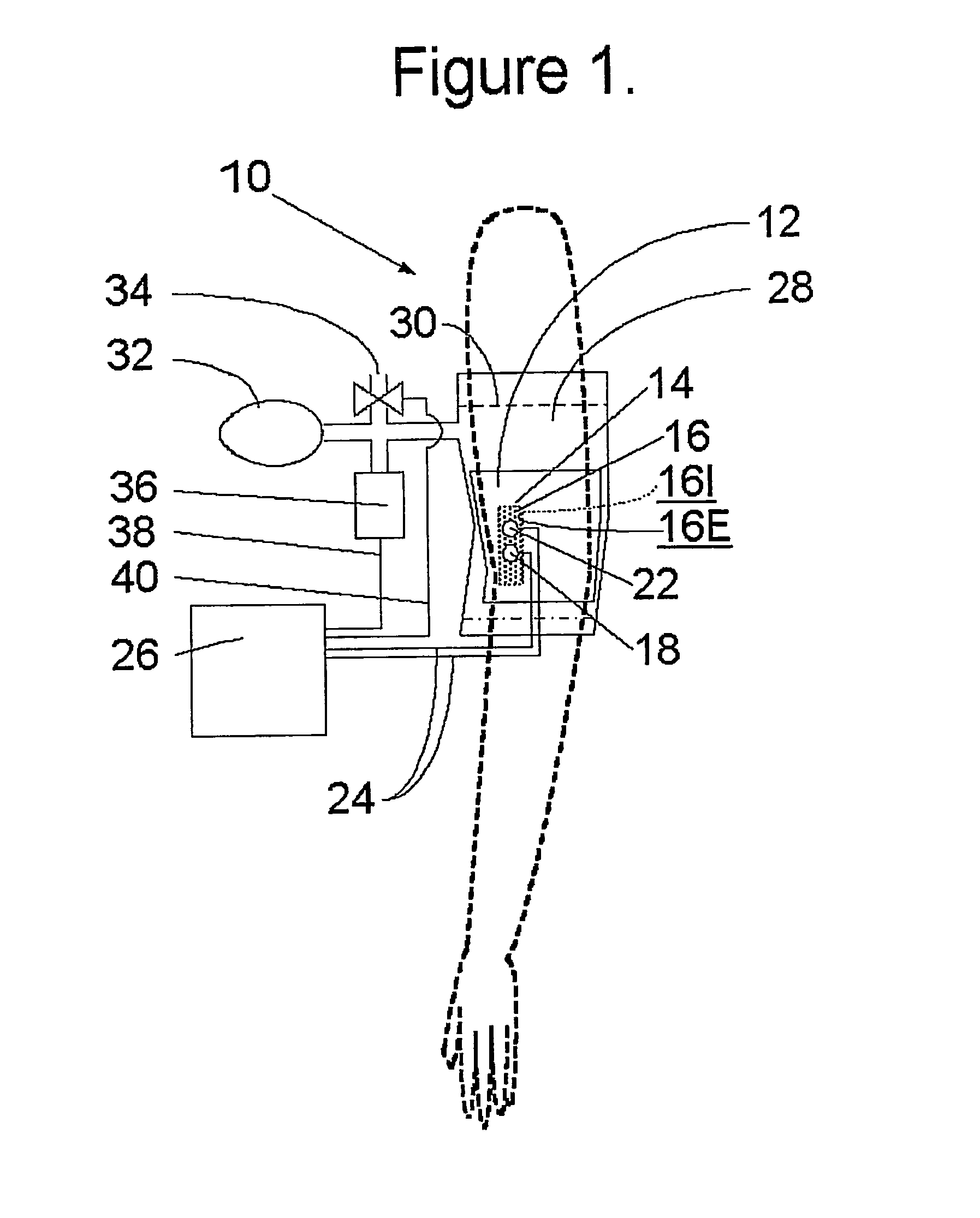
Blood pressure monitoring system and method
授权日
2013-05-22
公开(公告)号
EP1662985B1
申请日
2004-09-10
公开(公告)日
2013-05-22
当前申请(专利权)人
TEXTRONICS, INC.
发明人
COULSTON, GEORGE, W. | MICKA, THOMAS, A.
简单同族
AU2004270270A1 | AU2004289182A1 | BRPI0414255A | BRPI0414255A2 | CA2537530A1 | CA2537586A1 | CN100464702C | CN100496391C | CN1863482A | CN1863484A | EP1662985A1 | EP1662985B1 | EP1662991A2 | EP1662991B1 | EP1662999A1 | EP1662999B1 | IL174049D0 | IL174050D0 | JP2007504911A | JP2007509242A | JP2007518459A | JP4473271B2 | JP4623742B2 | JP4660480B2 | KR101032577B1 | KR101157271B1 | KR1020070024452A | KR1020070045139A | US20050106977A1 | US20050118914A1 | US20050277837A1 | US20070293750A1 | US20080177188A1 | US20100094146A1 | US20100198086A1 | US20100198113A1 | US7381187 | US7641616 | US7715897 | US7725152 | US7896810 | US8018587 | US8145291 | US8428686 | WO2005023104A2 | WO2005023104A3 | WO2005025414A1 | WO2005046476A1
简单同族成员数量
48
简单同族被引用专利总数
117
诉讼案件数
0
法律状态/事件
授权 | 权利转移
抱歉,您的浏览器不支持PDF预览,请点击链接下载PDF文件