专利数据库
统计分析
产业报告
专利数据监控
产业人才
行业动态
产业政策法规
维权援助
个人中心
详情
文本
图像
标题
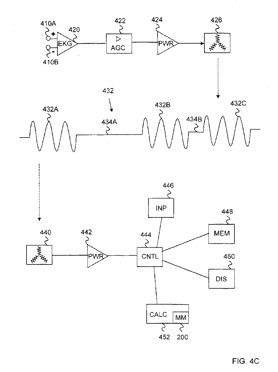
Controlling of fitness exercise
授权日
1900-01-01
公开(公告)号
EP1127542A2
申请日
2001-02-19
公开(公告)日
2001-08-29
当前申请(专利权)人
POLAR ELECTRO OY
发明人
HAUTALA, ARTO | HEIKKILÄ, ILKKA | MÄKIKALLIO, TIMO | NISSILÄ, SEPPO | TULPPO, MIKKO
简单同族
AT421864T | DE60137555D1 | EP1127542A2 | EP1127542A3 | EP1127542B1 | FI115288B | FI20000418A | FI20000418A0 | HK1038170A | HK1038170A1 | US20010027266A1 | US6687535
简单同族成员数量
12
简单同族被引用专利总数
175
诉讼案件数
0
法律状态/事件
授权
抱歉,您的浏览器不支持PDF预览,请点击链接下载PDF文件