专利数据库
统计分析
产业报告
专利数据监控
产业人才
行业动态
产业政策法规
维权援助
个人中心
详情
文本
图像
标题
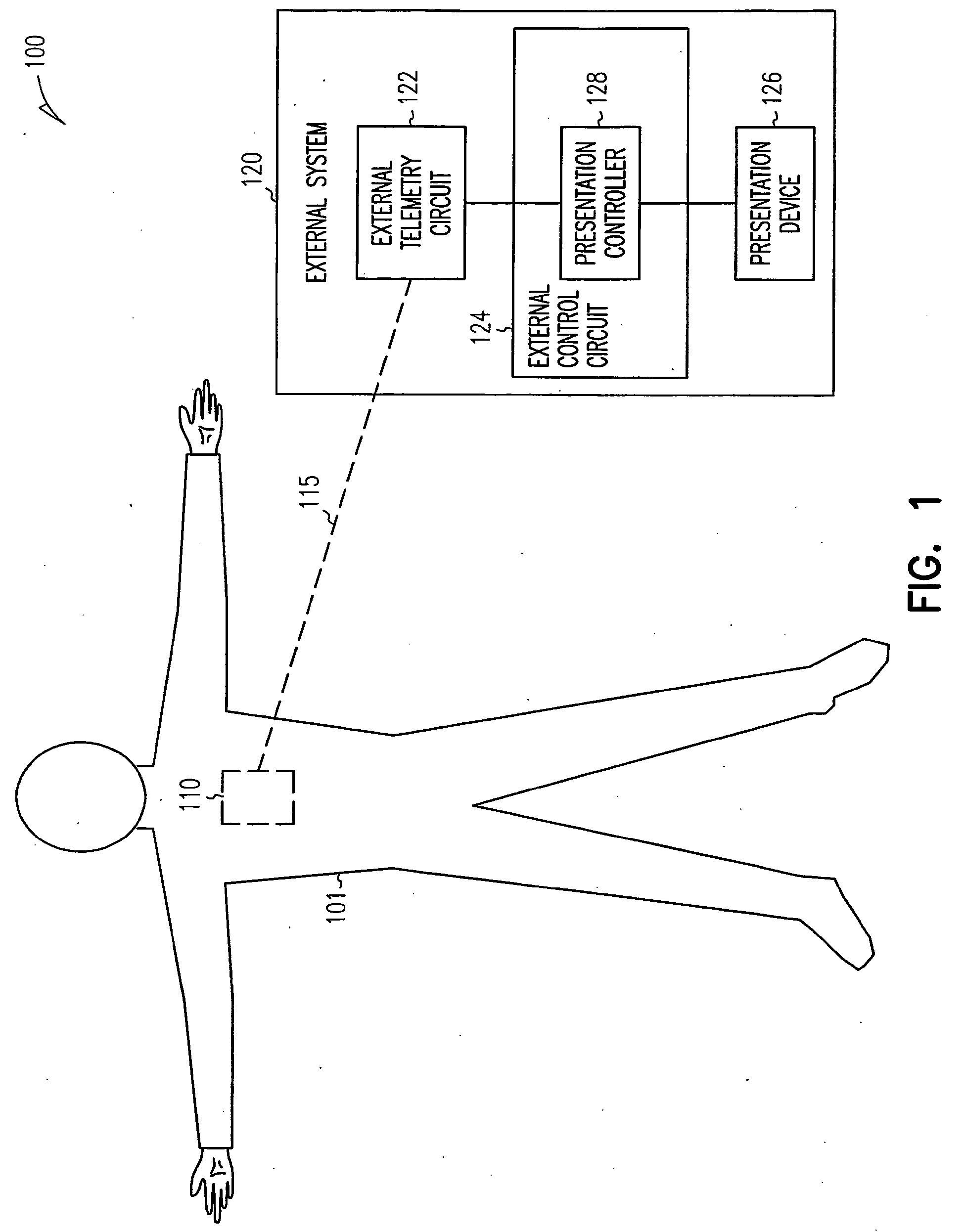
System for simultaneously presenting cardiac and neural signals
授权日
2016-10-19
公开(公告)号
EP1904171B1
申请日
2006-04-17
公开(公告)日
2016-10-19
当前申请(专利权)人
CARDIAC PACEMAKERS, INC.
发明人
LIBBUS, IMAD | KRAMER, ANDREW P. | LINDER, WILLIAM J. | STAHMANN, JEFFREY E.
简单同族
EP1904171A1 | EP1904171B1 | JP2008538996A | JP2008538996A5 | JP5027112B2 | US20060241725A1 | WO2006115899A1
简单同族成员数量
7
简单同族被引用专利总数
183
诉讼案件数
0
法律状态/事件
授权
抱歉,您的浏览器不支持PDF预览,请点击链接下载PDF文件