专利数据库
统计分析
产业报告
专利数据监控
产业人才
行业动态
产业政策法规
维权援助
个人中心
详情
文本
图像
标题
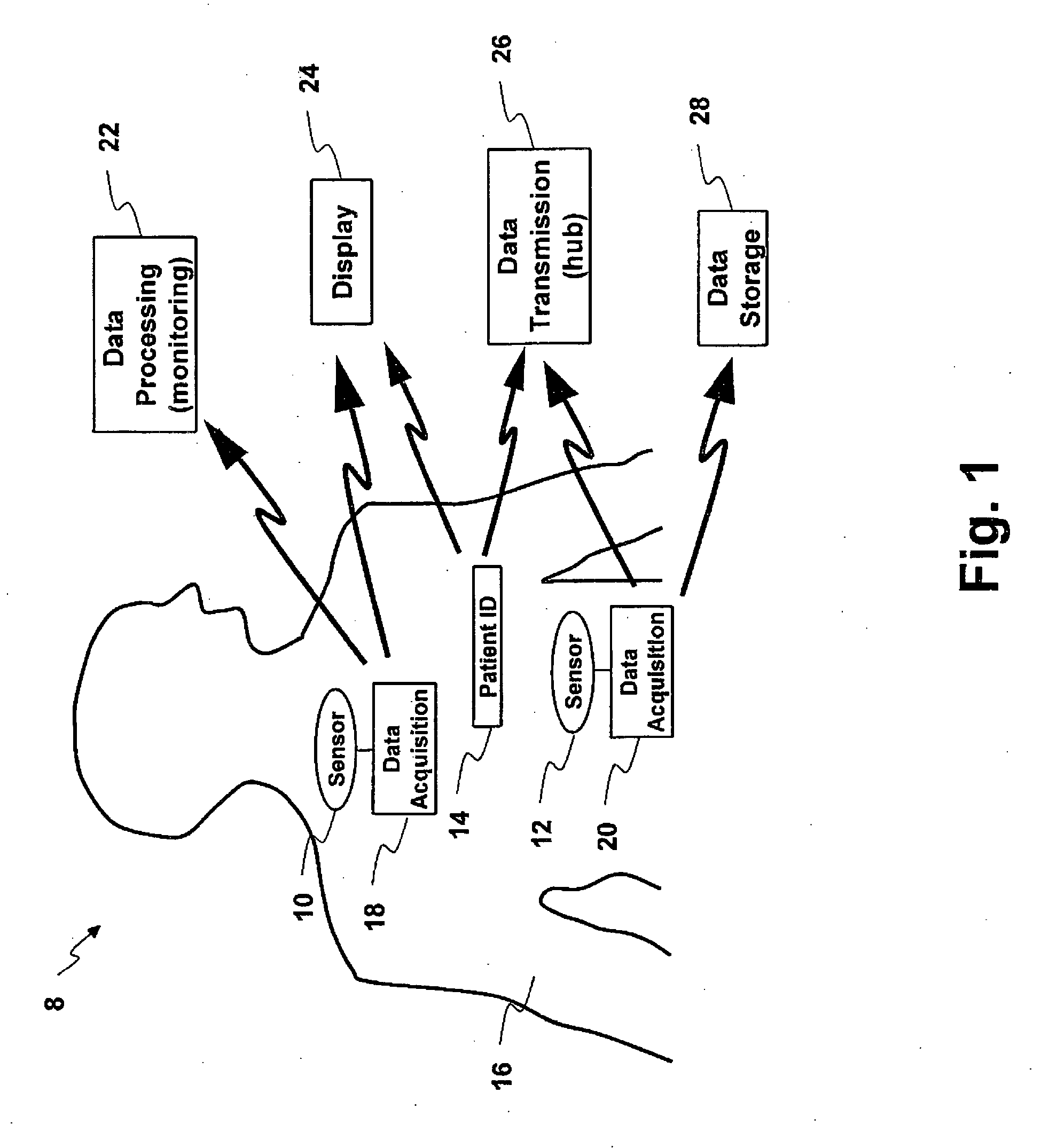
Addressing scheme for smart wireless medical sensor networks
授权日
2008-09-03
公开(公告)号
EP1864473B1
申请日
2006-03-13
公开(公告)日
2008-09-03
当前申请(专利权)人
KONINKLIJKE PHILIPS ELECTRONICS N.V.
发明人
FALCK, THOMAS | MASEGOSA DE MIGUEL, PEDRO
简单同族
AT407508T | DE602006002600D1 | EP1864473A1 | EP1864473B1 | JP2008538426A | JP5011275B2 | US20080191866A1 | US7859401 | WO2006100620A1
简单同族成员数量
9
简单同族被引用专利总数
171
诉讼案件数
0
法律状态/事件
授权
抱歉,您的浏览器不支持PDF预览,请点击链接下载PDF文件