专利数据库
统计分析
产业报告
专利数据监控
产业人才
行业动态
产业政策法规
维权援助
个人中心
详情
文本
图像
标题
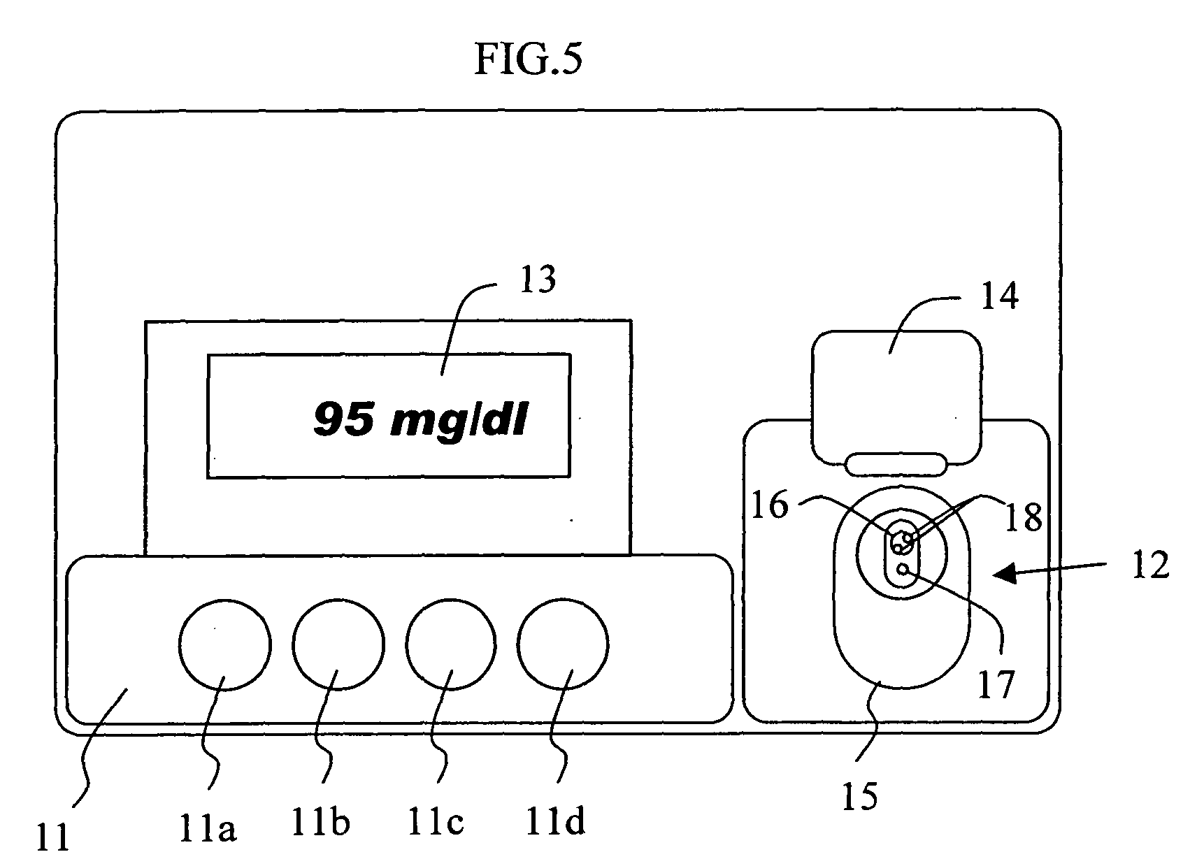
Blood sugar level measuring method and apparatus
授权日
1900-01-01
公开(公告)号
EP1522254A1
申请日
2004-02-12
公开(公告)日
2005-04-13
当前申请(专利权)人
HITACHI, LTD.
发明人
CHO, OK-KYUNG | KIM, YOON-OK
简单同族
CN1605320A | EP1522254A1 | JP2005110995A | JP3623498B1 | US20050080324A1 | US7156810
简单同族成员数量
6
简单同族被引用专利总数
123
诉讼案件数
0
法律状态/事件
撤回
抱歉,您的浏览器不支持PDF预览,请点击链接下载PDF文件