专利数据库
统计分析
产业报告
专利数据监控
产业人才
行业动态
产业政策法规
维权援助
个人中心
详情
文本
图像
标题
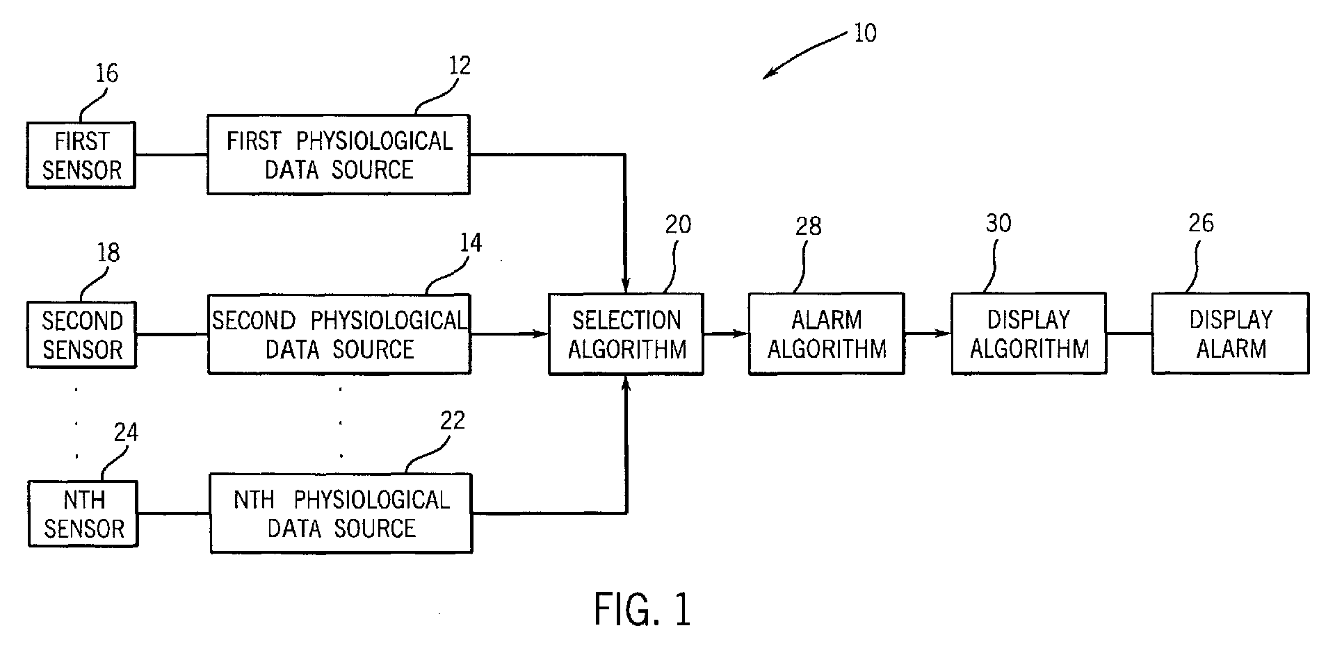
System and method for selecting physiological data from a plurality of physiological data sources
授权日
1900-01-01
公开(公告)号
EP1269911A2
申请日
2002-06-27
公开(公告)日
2003-01-02
当前申请(专利权)人
GE MEDICAL SYSTEMS INFORMATION TECHNOLOGIES, INC.
发明人
SITZMAN, DAVID A. | FARRELL, ROBERT M.
简单同族
CN1395214A | EP1269911A2 | EP1269911A3 | JP2003116801A | JP2003116801A5 | JP4340804B2 | US20030009106A1 | US6801802
简单同族成员数量
8
简单同族被引用专利总数
230
诉讼案件数
0
法律状态/事件
驳回
抱歉,您的浏览器不支持PDF预览,请点击链接下载PDF文件