专利数据库
统计分析
产业报告
专利数据监控
产业人才
行业动态
产业政策法规
维权援助
个人中心
详情
文本
图像
标题
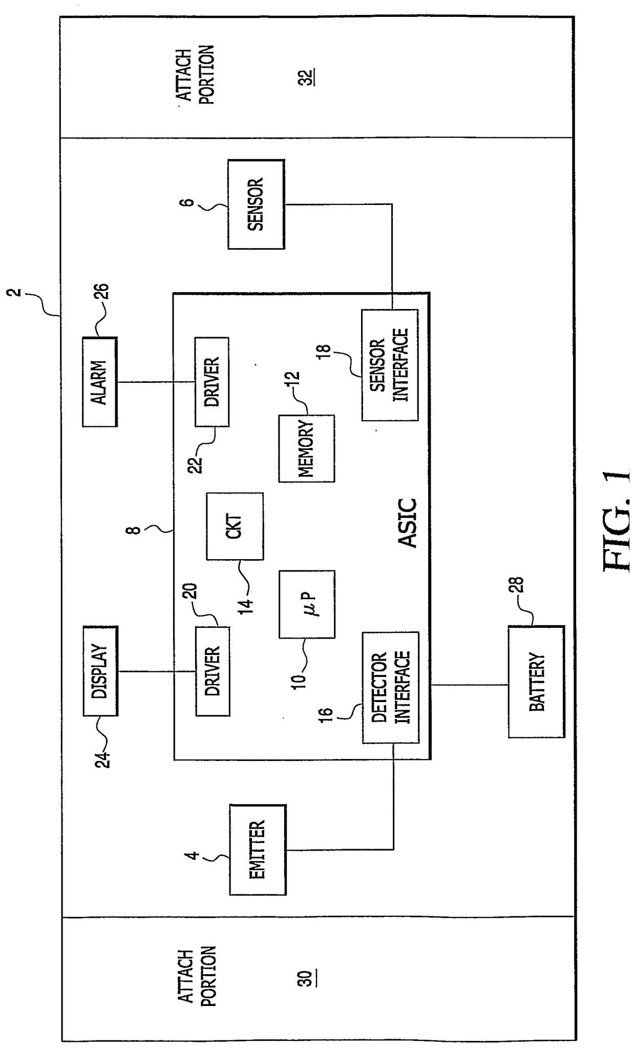
Single use pulse oximeter
授权日
2017-11-22
公开(公告)号
EP1948010B1
申请日
2006-10-10
公开(公告)日
2017-11-22
当前申请(专利权)人
SMITHS MEDICAL ASD, INC.
发明人
SWEITZER, ROBERT | SMITH, GUY
简单同族
AU2006306630A1 | AU2006306630B2 | BRPI0617817A2 | CA2626348A1 | CA2626348C | CN101330866A | CN101330866B | EP1948010A2 | EP1948010A4 | EP1948010B1 | HK1126641A | HK1126641A1 | IL190685D0 | JP2009513244A | JP2009513244A5 | JP5425469B2 | KR101309610B1 | KR1020080065986A | RU2008121176A | RU2428112C2 | TW200722054A | US20070100218A1 | US7486977 | WO2007050269A2 | WO2007050269A3
简单同族成员数量
25
简单同族被引用专利总数
127
诉讼案件数
0
法律状态/事件
授权 | 权利转移
抱歉,您的浏览器不支持PDF预览,请点击链接下载PDF文件