专利数据库
统计分析
产业报告
专利数据监控
产业人才
行业动态
产业政策法规
维权援助
个人中心
详情
文本
图像
标题
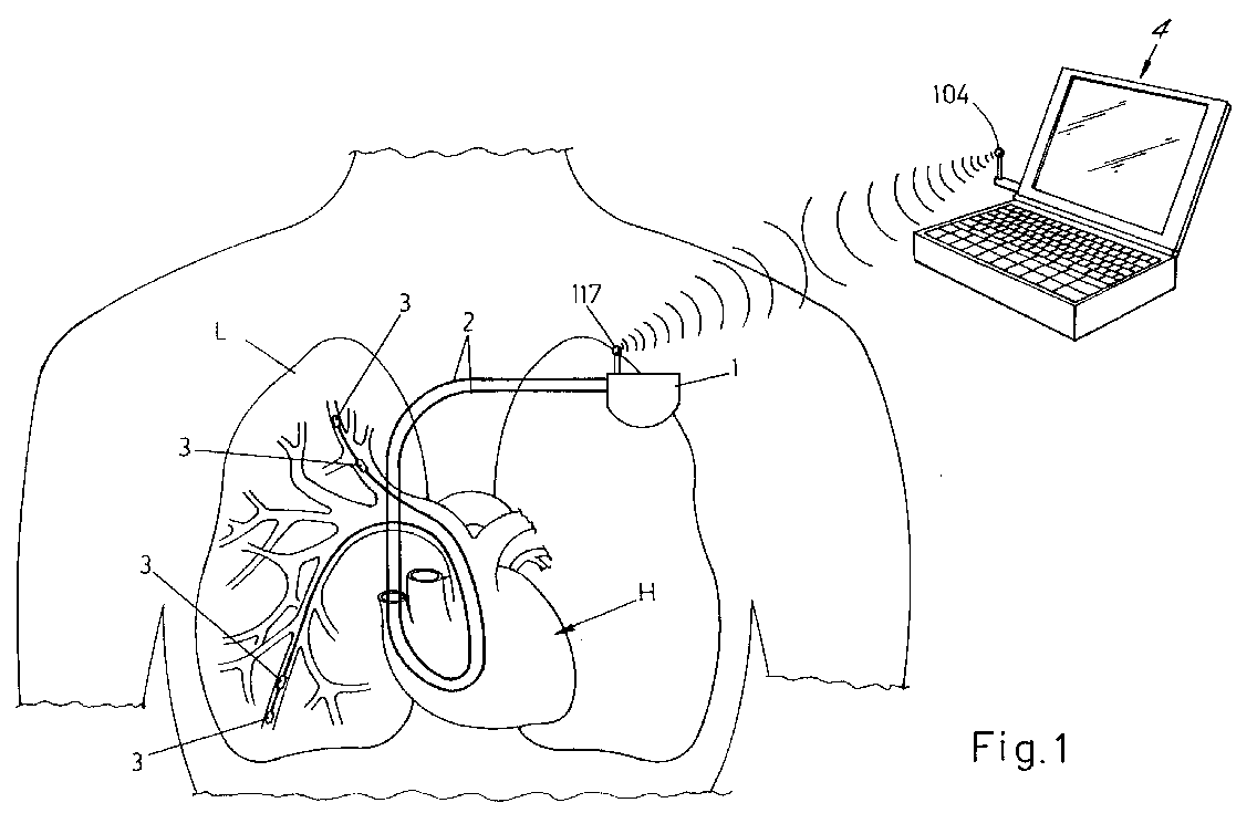
Process and implantable device for the intrapulmonary assessing of density dependant physical properties of the lung tissue
授权日
1900-01-01
公开(公告)号
EP1238630A2
申请日
2002-02-26
公开(公告)日
2002-09-11
当前申请(专利权)人
TRE ESSE PROGETTAZIONE BIOMEDICA S.R.L
发明人
PLICCHI, GIANNI | MARCELLI, EMANUELA
简单同族
EP1238630A2 | EP1238630A3 | IT1328576B1 | ITBO2001000110A1 | ITBO2001000110D0 | US20020123674A1
简单同族成员数量
6
简单同族被引用专利总数
175
诉讼案件数
0
法律状态/事件
撤回
抱歉,您的浏览器不支持PDF预览,请点击链接下载PDF文件