专利数据库
统计分析
产业报告
专利数据监控
产业人才
行业动态
产业政策法规
维权援助
个人中心
详情
文本
图像
标题
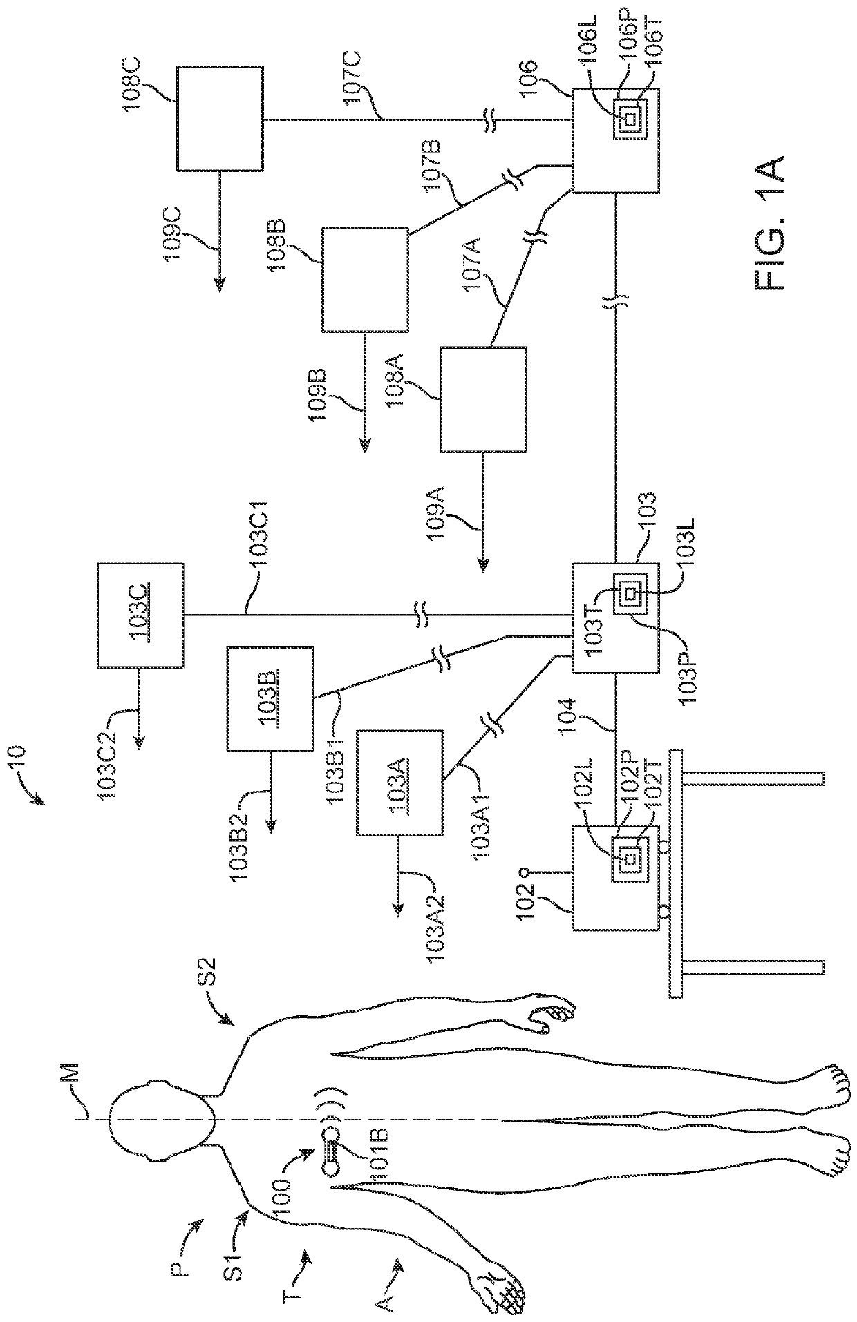
Patient monitoring systems and methods
授权日
2018-11-14
公开(公告)号
EP2375968B1
申请日
2009-12-15
公开(公告)日
2018-11-14
当前申请(专利权)人
MEDTRONIC MONITORING, INC.
发明人
LIBBUS, IMAD | AMURTHUR, BADRI | MANICKA, YATHEENDHAR D. | MAZAR, SCOTT T. | MERKERT, MATT | LANDRUM, BRETT A.
简单同族
EP2375968A2 | EP2375968A4 | EP2375968B1 | JP2012511965A | JP2012511965A5 | JP2014208255A | JP5559810B2 | JP5856653B2 | US20120108917A1 | US20150015417A1 | US8823490 | US9445719 | WO2010077851A2 | WO2010077851A3
简单同族成员数量
14
简单同族被引用专利总数
221
诉讼案件数
0
法律状态/事件
授权 | 权利转移
抱歉,您的浏览器不支持PDF预览,请点击链接下载PDF文件