专利数据库
统计分析
产业报告
专利数据监控
产业人才
行业动态
产业政策法规
维权援助
个人中心
详情
文本
图像
标题
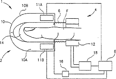
血液に関する信号の非侵襲的な測定のための光学装置および該装置のためのフィンガーホルダ
授权日
1900-01-01
公开(公告)号
JP2003511141A
申请日
2000-10-06
公开(公告)日
2003-03-25
当前申请(专利权)人
オルセンス リミテッド
发明人
フィナロフ、アリグザンダー | クレインマン、ヨッシー | ファイン、イルヤ
简单同族
AT258409T | AU2000076830A1 | DE60008011D1 | DE60008011T2 | EP1223851A1 | EP1223851B1 | JP2003511141A | JP4767464B2 | US6400971 | WO2001026539A1
简单同族成员数量
10
简单同族被引用专利总数
172
诉讼案件数
0
法律状态/事件
未缴年费
抱歉,您的浏览器不支持PDF预览,请点击链接下载PDF文件