专利数据库
统计分析
产业报告
专利数据监控
产业人才
行业动态
产业政策法规
维权援助
个人中心
详情
文本
图像
标题
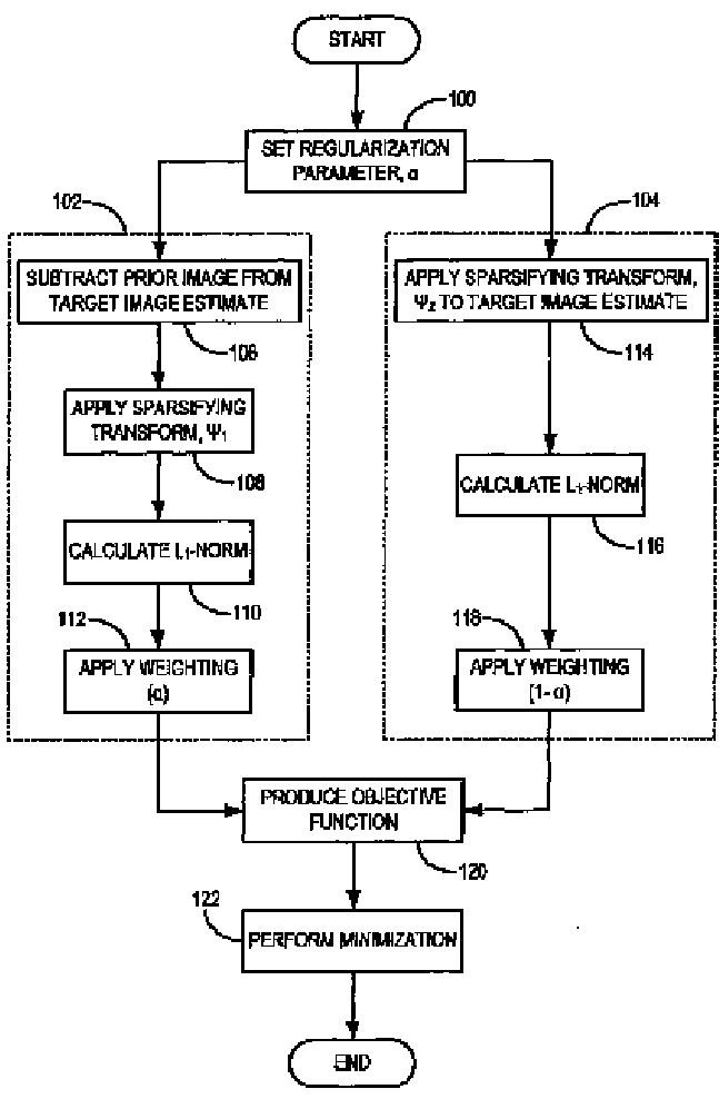
希薄化制約補正を用いた画像復元法
授权日
1900-01-01
公开(公告)号
JP2011507640A
申请日
2008-12-22
公开(公告)日
2011-03-10
当前申请(专利权)人
ウイスコンシン アラムナイ リサーチ ファウンデーシヨン
发明人
サムソノヴ、アレクセイ、エイ | チェン、ガン-ホン | ウ、フイミン | ブロック、ウォルター、エフ
简单同族
AT528733T | AT529840T | EP2232444A1 | EP2232444B1 | EP2232445A1 | EP2232445B1 | JP2011507640A | JP2011511654A | JP5470271B2 | JP5734664B2 | US20090161933A1 | US20090175523A1 | US8194937 | US8229199 | WO2009082419A1 | WO2009082736A1
简单同族成员数量
16
简单同族被引用专利总数
179
诉讼案件数
0
法律状态/事件
授权
抱歉,您的浏览器不支持PDF预览,请点击链接下载PDF文件