专利数据库
统计分析
产业报告
专利数据监控
产业人才
行业动态
产业政策法规
维权援助
个人中心
详情
文本
图像
标题
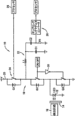
低消費電力型の発光ダイオードドライブを有するパルスオキシメータ
授权日
1900-01-01
公开(公告)号
JP2003500147A
申请日
2000-04-04
公开(公告)日
2003-01-07
当前申请(专利权)人
マリンクロット アイエヌシー.
发明人
ポトラッツ アール. スティーブン
简单同族
CA2374144A1 | EP1180961A1 | EP1180961A4 | JP2003500147A | JP4641626B2 | US6226539 | WO2000072749A1
简单同族成员数量
7
简单同族被引用专利总数
177
诉讼案件数
0
法律状态/事件
期限届满 | 权利转移
抱歉,您的浏览器不支持PDF预览,请点击链接下载PDF文件