专利数据库
统计分析
产业报告
专利数据监控
产业人才
行业动态
产业政策法规
维权援助
个人中心
详情
文本
图像
标题
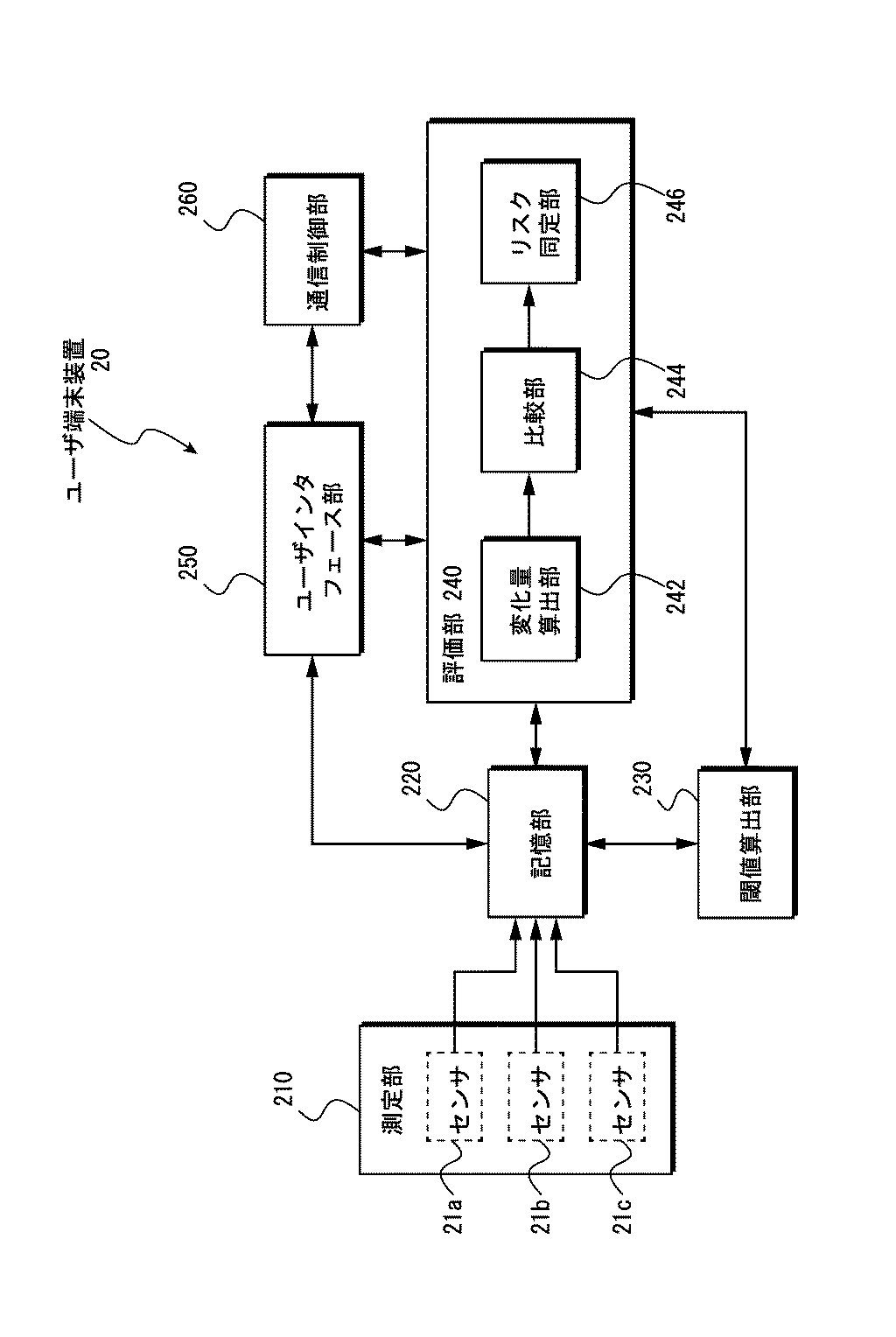
熱中症リスク評価システム及び熱中症リスク評価方法
授权日
1900-01-01
公开(公告)号
JP2020065641A
申请日
2018-10-23
公开(公告)日
2020-04-30
当前申请(专利权)人
旭化成株式会社
发明人
山田 真士 | 赤木 優子
简单同族
JP2020065641A
简单同族成员数量
1
简单同族被引用专利总数
0
诉讼案件数
0
法律状态/事件
公开
抱歉,您的浏览器不支持PDF预览,请点击链接下载PDF文件