专利数据库
统计分析
产业报告
专利数据监控
产业人才
行业动态
产业政策法规
维权援助
个人中心
详情
文本
图像
标题
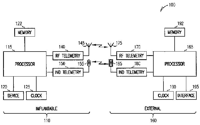
埋込型機器に関する動的な遠隔測定リンク選択
授权日
1900-01-01
公开(公告)号
JP2008508981A
申请日
2005-08-08
公开(公告)日
2008-03-27
当前申请(专利权)人
カーディアック ペースメイカーズ, インコーポレイテッド
发明人
シーバーガー,マイケル | リ,フイ | キレス,シルビア | キンナモン,レイモンド·ピイ
简单同族
AT515287T | EP1796788A1 | EP1796788B1 | JP2008508981A | JP5173419B2 | US20060030903A1 | US20080262573A1 | US7406349 | WO2006020546A1
简单同族成员数量
9
简单同族被引用专利总数
179
诉讼案件数
0
法律状态/事件
授权
抱歉,您的浏览器不支持PDF预览,请点击链接下载PDF文件