专利数据库
统计分析
产业报告
专利数据监控
产业人才
行业动态
产业政策法规
维权援助
个人中心
详情
文本
图像
标题
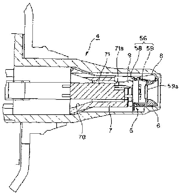
放射温度計
授权日
1900-01-01
公开(公告)号
JPWO2001096825A1
申请日
2001-06-13
公开(公告)日
2004-01-08
当前申请(专利权)人
オムロンヘルスケア株式会社
发明人
田畑 信 | 太田 弘行 | 大西 喜英 | 小椋 俊彦 | 佐藤 哲也 | 佐藤 泰雅
简单同族
EP1302761A1 | EP1302761A4 | EP1302761B1 | JP3690387B2 | JPWO2001096825A1 | US20040022297A1 | US20040228386A1 | US20040233968A1 | US7036978 | US7380981 | US7434992 | WO2001096825A1
简单同族成员数量
12
简单同族被引用专利总数
75
诉讼案件数
0
法律状态/事件
授权 | 权利转移
抱歉,您的浏览器不支持PDF预览,请点击链接下载PDF文件