专利数据库
统计分析
产业报告
专利数据监控
产业人才
行业动态
产业政策法规
维权援助
个人中心
详情
文本
图像
标题
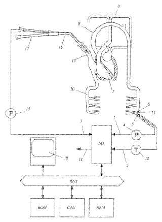
血液力学パラメータの測定装置
授权日
1900-01-01
公开(公告)号
JP2005329237A
申请日
2005-05-17
公开(公告)日
2005-12-02
当前申请(专利权)人
プルシオン メディカル システムズ アーゲー
发明人
ウルリッヒ ジェイ. ファイファー | ラインホルト クノル | シュテファン レグ
简单同族
BRPI0501917A | BRPI0501917A2 | CN100581450C | CN1698534A | DE102004024334A1 | DE502005006860D1 | EP1598005A1 | EP1598005B1 | ES2323179T3 | JP2005329237A | JP4322227B2 | KR1020060046075A | RU2005114869A | RU2378982C2 | US20050267379A1 | US7588542
简单同族成员数量
16
简单同族被引用专利总数
65
诉讼案件数
0
法律状态/事件
授权
抱歉,您的浏览器不支持PDF预览,请点击链接下载PDF文件