专利数据库
统计分析
产业报告
专利数据监控
产业人才
行业动态
产业政策法规
维权援助
个人中心
详情
文本
图像
标题
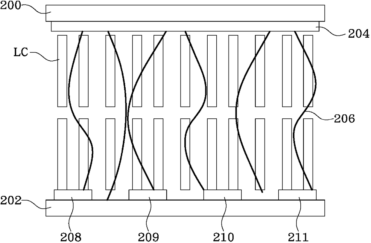
一种胆固醇液晶面板
授权日
1900-01-01
公开(公告)号
CN103513476A
申请日
2013-10-23
公开(公告)日
2014-01-15
当前申请(专利权)人
友达光电股份有限公司
发明人
曾衡逸 | 白宗纬 | 李承璋 | 吴育庆 | 徐文浩 | 林宗贤
简单同族
CN103513476A
简单同族成员数量
1
简单同族被引用专利总数
0
诉讼案件数
0
法律状态/事件
撤回
抱歉,您的浏览器不支持PDF预览,请点击链接下载PDF文件