专利数据库
统计分析
产业报告
专利数据监控
产业人才
行业动态
产业政策法规
维权援助
个人中心
详情
文本
图像
标题
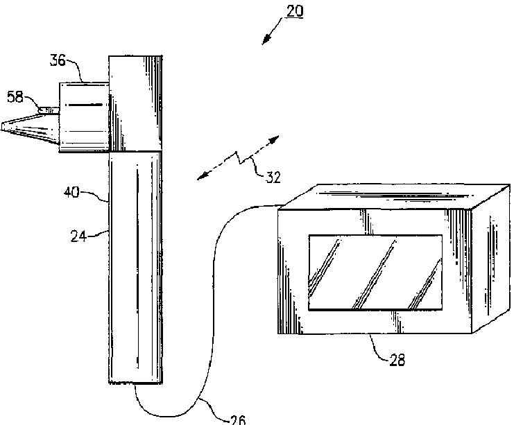
赤外線体温計
授权日
1900-01-01
公开(公告)号
JP2004528085A
申请日
2002-04-02
公开(公告)日
2004-09-16
当前申请(专利权)人
ウェルチ·アリン·インコーポレーテッド
发明人
リチャード ダブリュ ニューマン | アラン アイ クラウター
简单同族
AU2002256070A1 | AU2002256070B2 | CA2442937A1 | EP1373846A1 | JP2004528085A | JP2004528085A5 | US20020143257A1 | US6631287 | WO2002082029A1
简单同族成员数量
9
简单同族被引用专利总数
143
诉讼案件数
0
法律状态/事件
驳回
抱歉,您的浏览器不支持PDF预览,请点击链接下载PDF文件