专利数据库
统计分析
产业报告
专利数据监控
产业人才
行业动态
产业政策法规
维权援助
个人中心
详情
文本
图像
标题
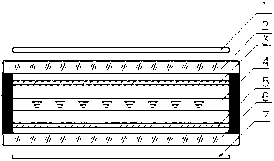
一种具有触摸功能的液晶显示屏
授权日
1900-01-01
公开(公告)号
CN108415189A
申请日
2018-05-07
公开(公告)日
2018-08-17
当前申请(专利权)人
浙江帅康电气股份有限公司
发明人
徐新建 | 高利辉
简单同族
CN108415189A
简单同族成员数量
1
简单同族被引用专利总数
0
诉讼案件数
0
法律状态/事件
实质审查
抱歉,您的浏览器不支持PDF预览,请点击链接下载PDF文件