专利数据库
统计分析
产业报告
专利数据监控
产业人才
行业动态
产业政策法规
维权援助
个人中心
详情
文本
图像
标题
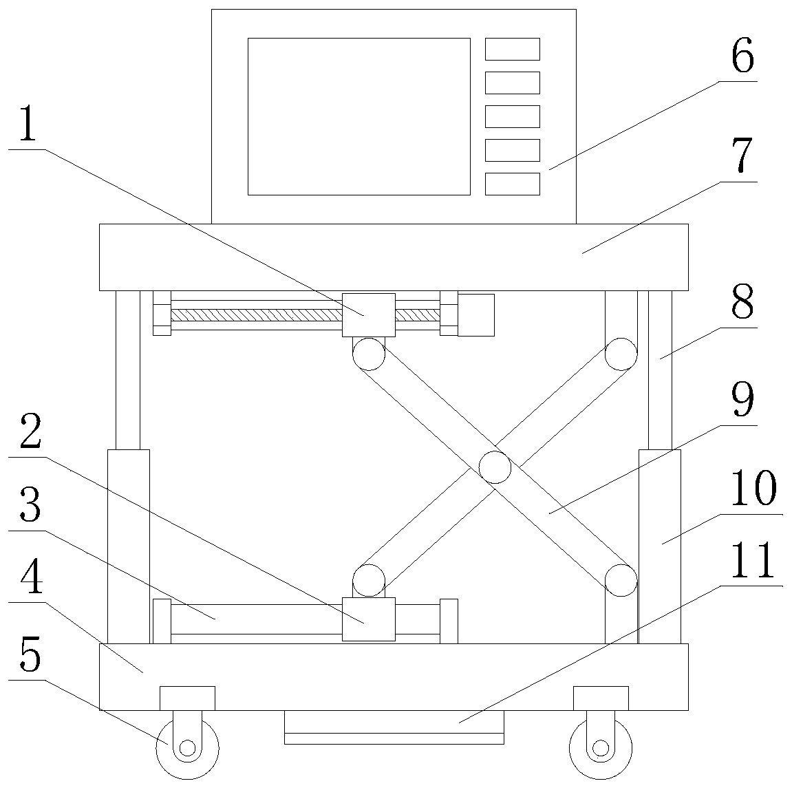
一种便于移动的具有调节功能的心电监护仪
授权日
1900-01-01
公开(公告)号
CN111374661A
申请日
2019-08-17
公开(公告)日
2020-07-07
当前申请(专利权)人
高邮市好时光医疗器械有限公司
发明人
朱健 | 朱军
简单同族
CN111374661A
简单同族成员数量
1
简单同族被引用专利总数
0
诉讼案件数
0
法律状态/事件
公开
抱歉,您的浏览器不支持PDF预览,请点击链接下载PDF文件