专利数据库
统计分析
产业报告
专利数据监控
产业人才
行业动态
产业政策法规
维权援助
个人中心
详情
文本
图像
标题
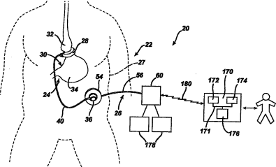
摄食量限制装置的远程监视和调节
授权日
1900-01-01
公开(公告)号
CN1883413A
申请日
2006-06-22
公开(公告)日
2006-12-27
当前申请(专利权)人
伊西康内外科公司
发明人
小威廉·L·哈斯勒
简单同族
AT427085T | AU2006202142A1 | AU2006202142B2 | BRPI0602354A | BRPI0602354A2 | CA2548263A1 | CA2548263C | CN1883413A | CN1883413B | DE602006005987D1 | EP1736123A1 | EP1736123B1 | ES2322191T3 | HK1098337A | HK1098337A1 | IL175850A | IL175850D0 | JP2007000642A | KR1020060135520A | MXPA06007433A | RU2006122627A | RU2456918C2 | SG128620A1 | US20080009680A1
简单同族成员数量
24
简单同族被引用专利总数
177
诉讼案件数
0
法律状态/事件
授权
抱歉,您的浏览器不支持PDF预览,请点击链接下载PDF文件