专利数据库
统计分析
产业报告
专利数据监控
产业人才
行业动态
产业政策法规
维权援助
个人中心
详情
文本
图像
标题
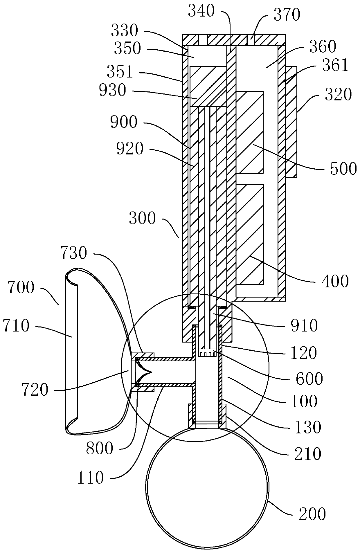
一种便携式呼气温湿度检测仪
授权日
1900-01-01
公开(公告)号
CN110558952A
申请日
2019-09-30
公开(公告)日
2019-12-13
当前申请(专利权)人
佛山市第一人民医院(中山大学附属佛山医院)
发明人
徐博雅 | 杨鑫 | 邱小蕾 | 孙静 | 卢嘉茵 | 温宇明 | 邹毅成 | 劳秋婵
简单同族
CN110558952A
简单同族成员数量
1
简单同族被引用专利总数
0
诉讼案件数
0
法律状态/事件
实质审查
抱歉,您的浏览器不支持PDF预览,请点击链接下载PDF文件