专利数据库
统计分析
产业报告
专利数据监控
产业人才
行业动态
产业政策法规
维权援助
个人中心
详情
文本
图像
标题
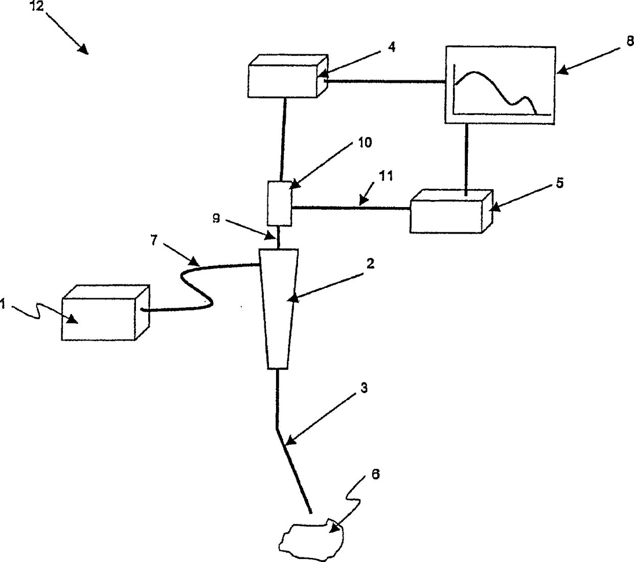
用于根据内窥镜成像期间获得的反射光谱测量测量癌变的方法和装置
授权日
2014-05-28
公开(公告)号
CN101137322B
申请日
2006-01-20
公开(公告)日
2014-05-28
当前申请(专利权)人
维利桑特技术公司 | 布列颠哥伦比亚癌症局
发明人
曾海山 | 亚瑟·谢里夫·费兹
简单同族
CA2595213A1 | CA2595213C | CN101137322A | CN101137322B | EP1845837A1 | EP1845837A4 | EP1845837B1 | ES2425568T3 | JP2008528064A | US20090270702A1 | WO2006076810A1
简单同族成员数量
11
简单同族被引用专利总数
112
诉讼案件数
0
法律状态/事件
未缴年费 | 权利转移
抱歉,您的浏览器不支持PDF预览,请点击链接下载PDF文件