专利数据库
统计分析
产业报告
专利数据监控
产业人才
行业动态
产业政策法规
维权援助
个人中心
详情
文本
图像
标题
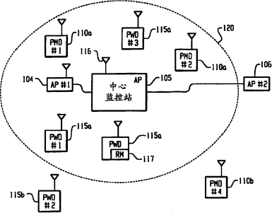
用于无线医疗监控的方法和系统以及患者监控装置
授权日
1900-01-01
公开(公告)号
CN1957560A
申请日
2005-02-01
公开(公告)日
2007-05-02
当前申请(专利权)人
皇家飞利浦电子股份有限公司
发明人
J·维滕伯 | J·巴加 | B·S·罗斯诺夫 | A·G·科谢克
简单同族
CN103892803A | CN103892803B | CN1957560A | EP1719293A1 | JP2007527166A | JP5069472B2 | US20080154503A1 | WO2005083940A1
简单同族成员数量
8
简单同族被引用专利总数
171
诉讼案件数
0
法律状态/事件
驳回 | 复审
抱歉,您的浏览器不支持PDF预览,请点击链接下载PDF文件