专利数据库
统计分析
产业报告
专利数据监控
产业人才
行业动态
产业政策法规
维权援助
个人中心
详情
文本
图像
标题
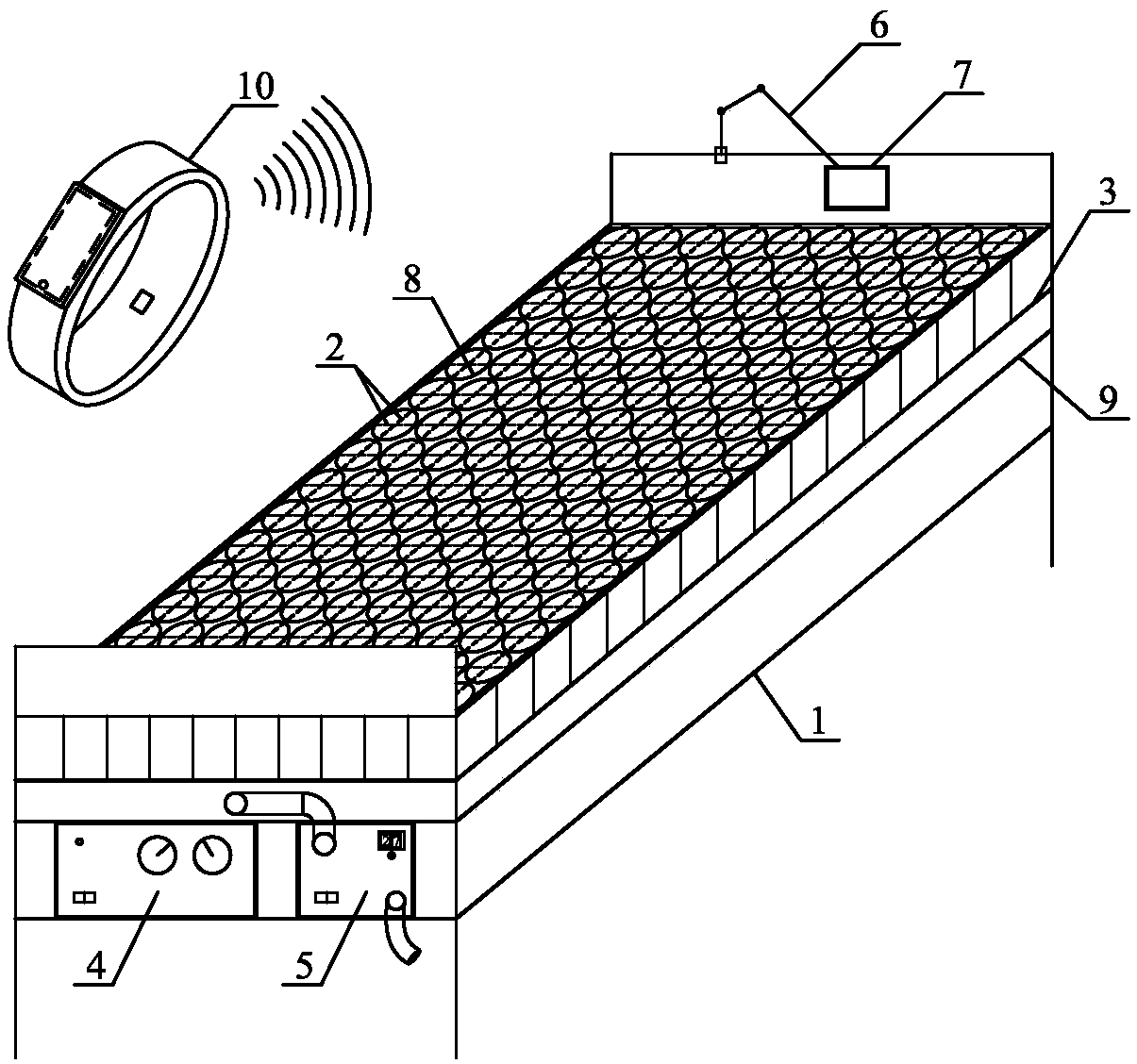
一种基于物联网的多功能床及其睡眠监护方法
授权日
1900-01-01
公开(公告)号
CN109247749A
申请日
2018-10-10
公开(公告)日
2019-01-22
当前申请(专利权)人
杨爱兰
发明人
不公告发明人
简单同族
CN109247749A
简单同族成员数量
1
简单同族被引用专利总数
0
诉讼案件数
0
法律状态/事件
实质审查
抱歉,您的浏览器不支持PDF预览,请点击链接下载PDF文件