专利数据库
统计分析
产业报告
专利数据监控
产业人才
行业动态
产业政策法规
维权援助
个人中心
详情
文本
图像
标题
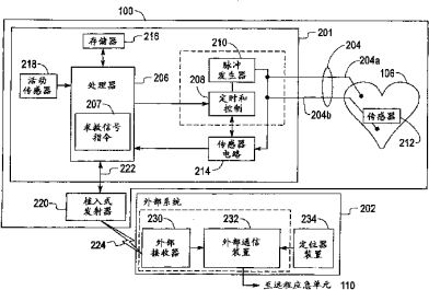
用于植入式自动除纤颤器的紧急呼叫和病人定位系统
授权日
1900-01-01
公开(公告)号
CN1613097A
申请日
2002-12-03
公开(公告)日
2005-05-04
当前申请(专利权)人
IPG保健501有限公司
发明人
W·J·尼
简单同族
AU2002351207A1 | AU2002351207A8 | CA2471511A1 | CA2471511C | CN1613097A | EP1467649A2 | EP1467649A4 | JP2005514143A | KR100634188B1 | KR1020040068104A | TW200400020A | US20030128121A1 | US6980112 | WO2003059145A2 | WO2003059145A3
简单同族成员数量
15
简单同族被引用专利总数
132
诉讼案件数
0
法律状态/事件
驳回 | 权利转移
抱歉,您的浏览器不支持PDF预览,请点击链接下载PDF文件