专利数据库
统计分析
产业报告
专利数据监控
产业人才
行业动态
产业政策法规
维权援助
个人中心
详情
文本
图像
标题
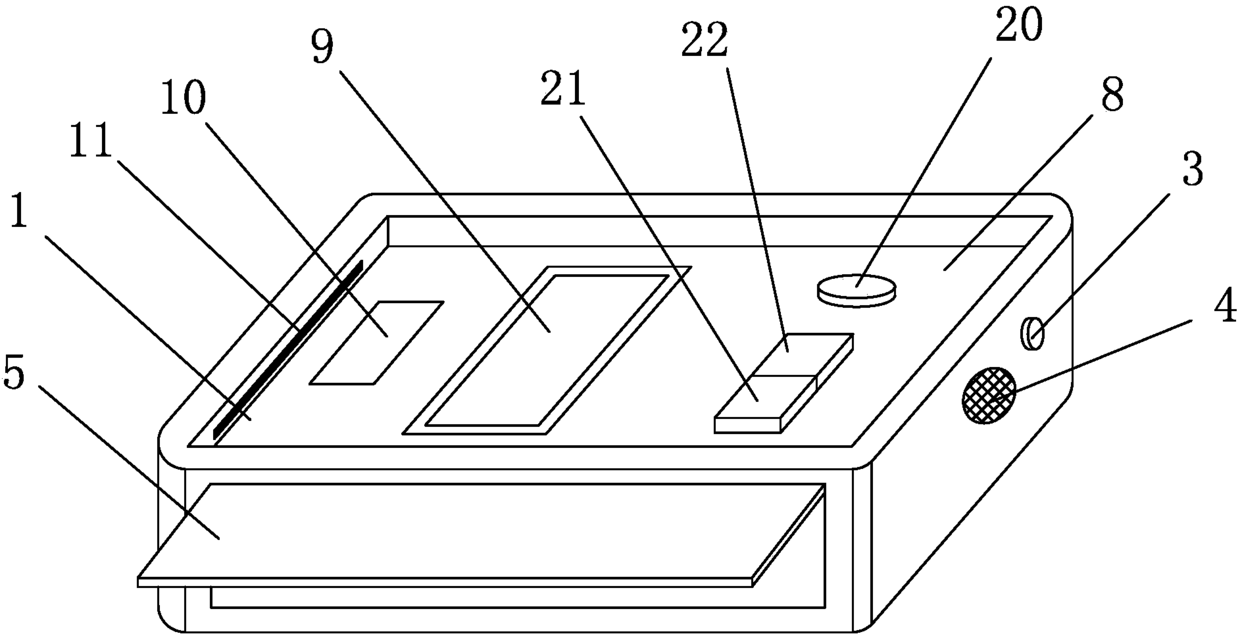
一种人体湿度、温度智能侦测装置
授权日
2016-08-10
公开(公告)号
CN205449160U
申请日
2016-04-08
公开(公告)日
2016-08-10
当前申请(专利权)人
翟景龙
发明人
翟景龙
简单同族
CN205449160U
简单同族成员数量
1
简单同族被引用专利总数
0
诉讼案件数
0
法律状态/事件
未缴年费
抱歉,您的浏览器不支持PDF预览,请点击链接下载PDF文件