专利数据库
统计分析
产业报告
专利数据监控
产业人才
行业动态
产业政策法规
维权援助
个人中心
详情
文本
图像
标题
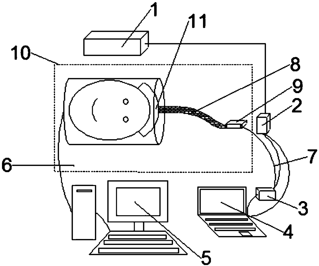
一种核磁共振成像和近红外光谱成像同步采集装置
授权日
2015-11-18
公开(公告)号
CN204765569U
申请日
2015-05-27
公开(公告)日
2015-11-18
当前申请(专利权)人
昆明理工大学
发明人
伏云发 | 张夏冰 | 郭衍龙 | 李松 | 余正涛 | 郭剑毅
简单同族
CN204765569U
简单同族成员数量
1
简单同族被引用专利总数
0
诉讼案件数
0
法律状态/事件
未缴年费
抱歉,您的浏览器不支持PDF预览,请点击链接下载PDF文件