专利数据库
统计分析
产业报告
专利数据监控
产业人才
行业动态
产业政策法规
维权援助
个人中心
详情
文本
图像
标题
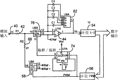
具有Σ-Δ调制的多位ADC
授权日
1900-01-01
公开(公告)号
CN1929778A
申请日
2005-02-24
公开(公告)日
2007-03-14
当前申请(专利权)人
内尔科尔普里坦贝内特公司
发明人
伊桑·彼得森 | 威廉·谢伊 | 布拉德福德·B·丘
简单同族
AT432039T | AU2005216956A1 | CA2556754A1 | CA2556754C | CN1929778A | DE602005014618D1 | EP1722671A2 | EP1722671B1 | ES2327759T3 | HK1100270A | JP2007523727A | JP4717059B2 | KR1020070024491A | MXPA06009748A | US20050184895A1 | US20070132618A1 | US7142142 | US7355539 | WO2005082236A2 | WO2005082236A3
简单同族成员数量
20
简单同族被引用专利总数
180
诉讼案件数
0
法律状态/事件
撤回
抱歉,您的浏览器不支持PDF预览,请点击链接下载PDF文件