专利数据库
统计分析
产业报告
专利数据监控
产业人才
行业动态
产业政策法规
维权援助
个人中心
详情
文本
图像
标题
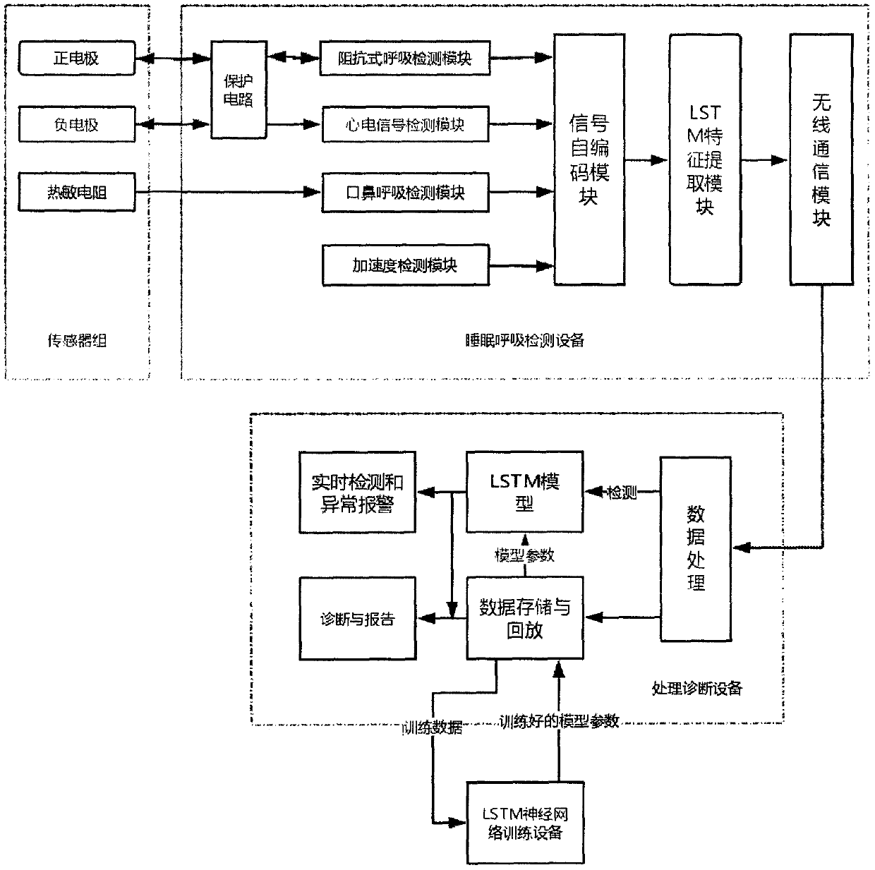
一种基于神经网络的睡眠呼吸暂停综合症检测系统
授权日
1900-01-01
公开(公告)号
CN110876621A
申请日
2018-09-06
公开(公告)日
2020-03-13
当前申请(专利权)人
南京大学
发明人
卞春华 | 金书扬 | 李姗 | 赵灿 | 方超 | 赵彬 | 井红梅 | 徐忠宝 | 陈晨 | 林可玥 | 展维维 | 孙凤鸣 | 吕智超
简单同族
CN110876621A
简单同族成员数量
1
简单同族被引用专利总数
0
诉讼案件数
0
法律状态/事件
公开
抱歉,您的浏览器不支持PDF预览,请点击链接下载PDF文件