专利数据库
统计分析
产业报告
专利数据监控
产业人才
行业动态
产业政策法规
维权援助
个人中心
详情
文本
图像
标题
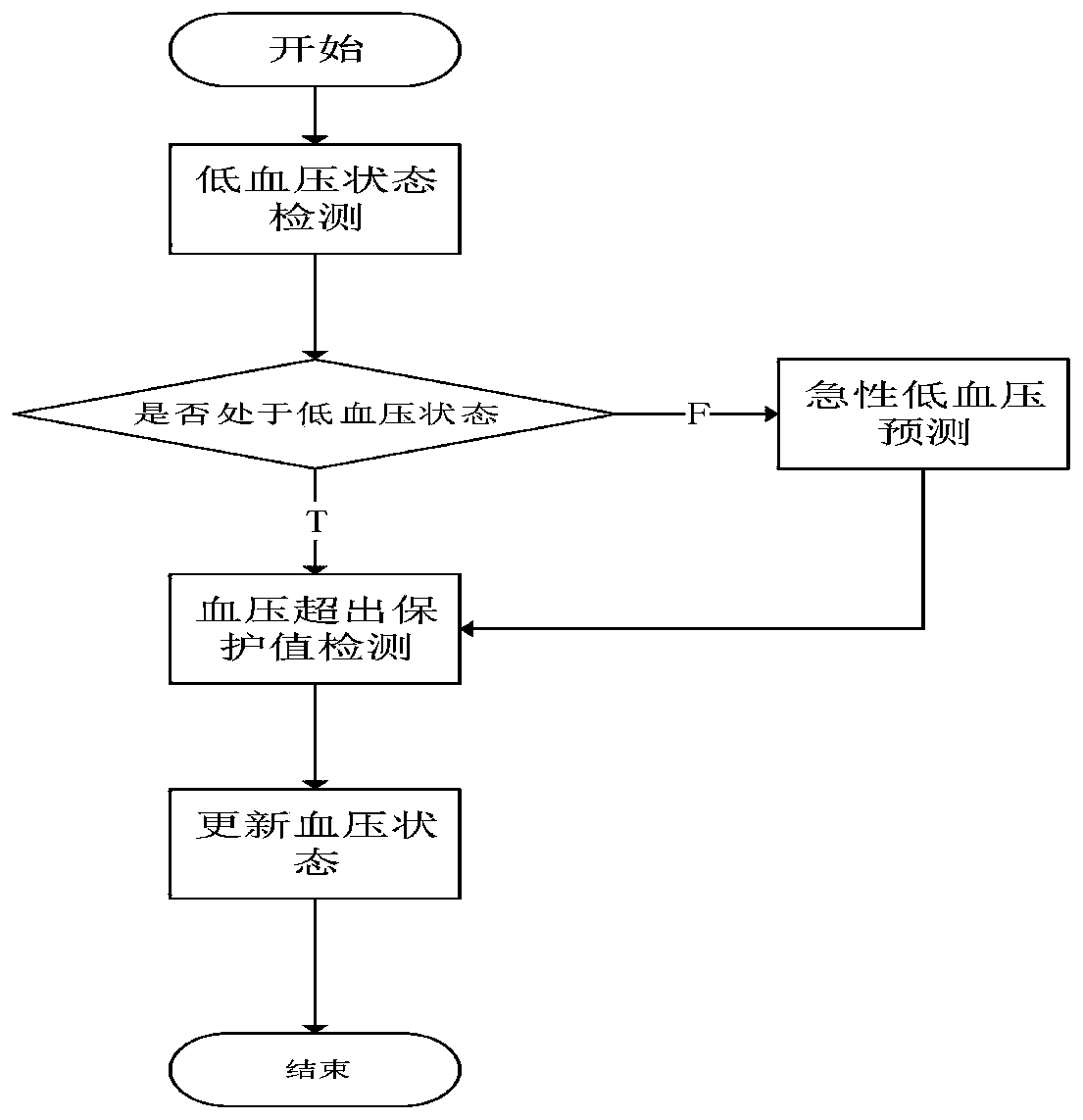
一种基于LSTM网络的急性低血压混合预警方法
授权日
1900-01-01
公开(公告)号
CN110507296A
申请日
2019-08-12
公开(公告)日
2019-11-29
当前申请(专利权)人
重庆大学
发明人
吴映波 | 何委燚 | 赵朋朋 | 吉皇 | 吴杰 | 周敏 | 骈伟国
简单同族
CN110507296A
简单同族成员数量
1
简单同族被引用专利总数
0
诉讼案件数
0
法律状态/事件
实质审查
抱歉,您的浏览器不支持PDF预览,请点击链接下载PDF文件