专利数据库
统计分析
产业报告
专利数据监控
产业人才
行业动态
产业政策法规
维权援助
个人中心
详情
文本
图像
标题
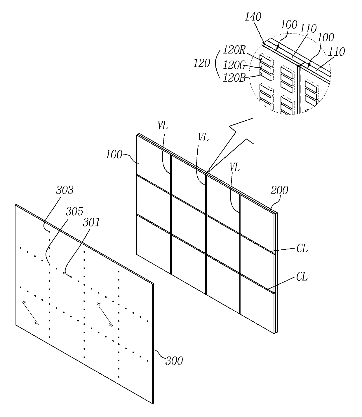
마이크로 엘이디 디스플레이 패널 및 그 제조방법
授权日
1900-01-01
公开(公告)号
KR1020200051929A
申请日
2018-11-06
公开(公告)日
2020-05-14
当前申请(专利权)人
주식회사 루멘스
发明人
김보균 | 노영교 | 김근하 | 문주경
简单同族
KR1020200051929A
简单同族成员数量
1
简单同族被引用专利总数
0
诉讼案件数
0
法律状态/事件
实质审查
抱歉,您的浏览器不支持PDF预览,请点击链接下载PDF文件