专利数据库
统计分析
产业报告
专利数据监控
产业人才
行业动态
产业政策法规
维权援助
个人中心
详情
文本
图像
标题
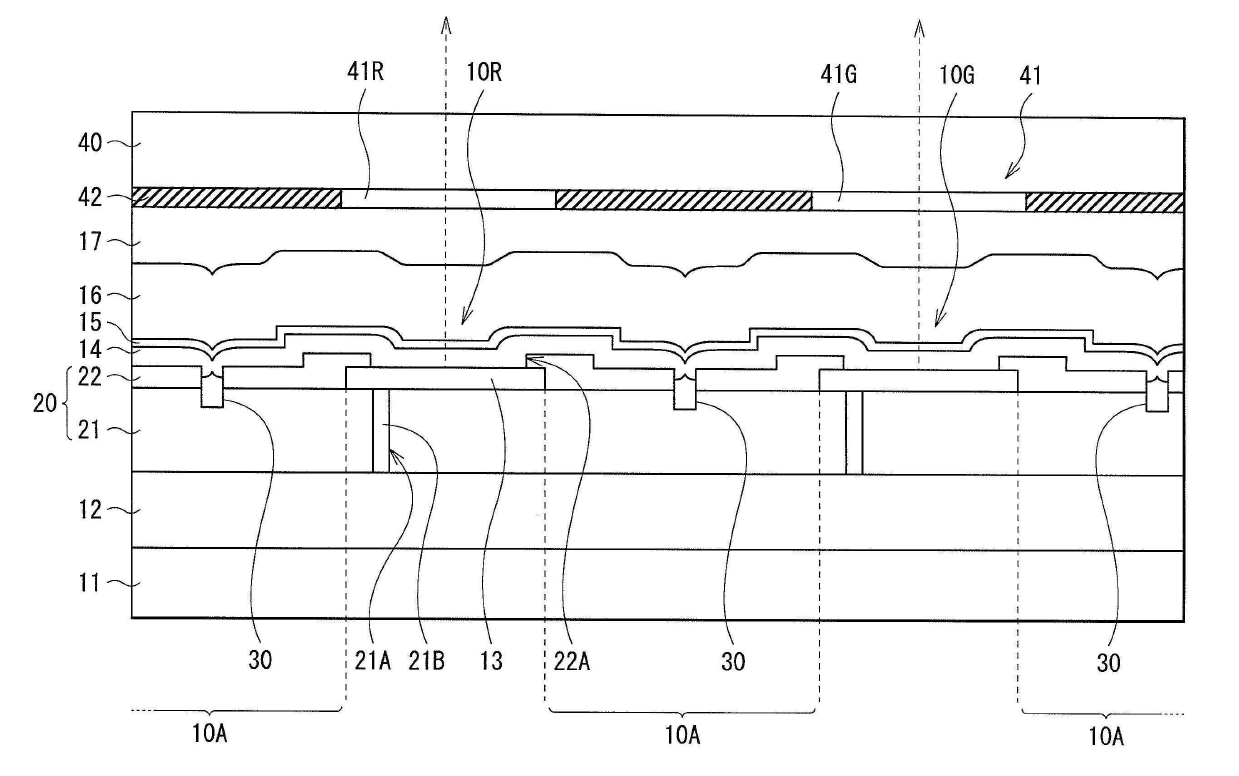
표시 장치
授权日
1900-01-01
公开(公告)号
KR1020200062120A
申请日
2020-05-25
公开(公告)日
2020-06-03
当前申请(专利权)人
소니 주식회사
发明人
야마다 지로 | 요꼬야마 세이이찌 | 하세가와 에이지 | 마끼따 아쯔야 | 우에스기 마사나오 | 곤도 쇼이찌 | 이찌까와 도모요시 | 야마시따 준이찌
简单同族
CN102738200A | CN102738200B | JP2012216338A | JP2012216338A5 | JP5708152B2 | KR101895617B1 | KR102008102B1 | KR1020120112067A | KR1020180099616A | KR1020190092364A | KR1020200009108A | KR1020200062120A | KR102069716B1 | TW201306349A | US20120248475A1 | US8981352
简单同族成员数量
16
简单同族被引用专利总数
63
诉讼案件数
0
法律状态/事件
实质审查
抱歉,您的浏览器不支持PDF预览,请点击链接下载PDF文件