专利数据库
统计分析
产业报告
专利数据监控
产业人才
行业动态
产业政策法规
维权援助
个人中心
详情
文本
图像
标题
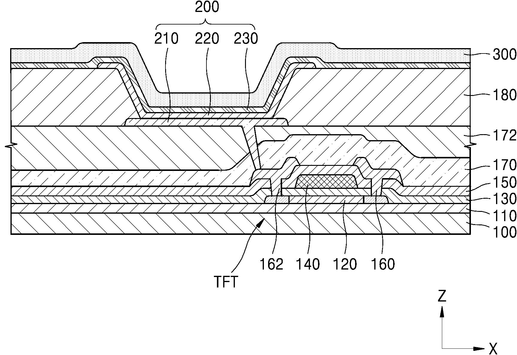
발명의 명칭 유기발광 디스플레이 장치 및 그 제조방법
授权日
1900-01-01
公开(公告)号
KR1020170019397A
申请日
2017-02-13
公开(公告)日
2017-02-21
当前申请(专利权)人
SAMSUNG DISPLAY CO. LTD.
发明人
김용탁 | 박응석 | 윤원민 | 이병덕 | 정윤아 | 조윤형 | 주용찬
简单同族
KR1020170019397A
简单同族成员数量
1
简单同族被引用专利总数
0
诉讼案件数
0
法律状态/事件
实质审查
抱歉,您的浏览器不支持PDF预览,请点击链接下载PDF文件