专利数据库
统计分析
产业报告
专利数据监控
产业人才
行业动态
产业政策法规
维权援助
个人中心
详情
文本
图像
标题
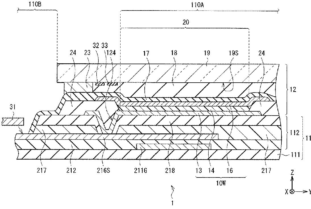
표시 장치 및 전자 기기
授权日
1900-01-01
公开(公告)号
KR1020150040270A
申请日
2013-07-30
公开(公告)日
2015-04-14
当前申请(专利权)人
가부시키가이샤 제이올레드
发明人
사이토타카토시 | 이즈미켄이치 | 테라구치신이치 | 나카다이라타다카츠 | 요코제키미키히로 | 니시쇼타 | 코다테마나부
简单同族
CN104471736A | CN104471736B | CN108899338A | CN108899338B | EP2880700A2 | JP2014044793A | JP2014044793A5 | JP6142151B2 | KR101933266B1 | KR1020150040270A | KR1020190000364A | TW201405804A | TWI580028B | US10305065 | US10476031 | US20150207100A1 | US20180083223A1 | US20190221772A1 | US20200013988A1 | US9865839 | WO2014020899A2 | WO2014020899A3
简单同族成员数量
22
简单同族被引用专利总数
50
诉讼案件数
0
法律状态/事件
授权
抱歉,您的浏览器不支持PDF预览,请点击链接下载PDF文件