专利数据库
统计分析
产业报告
专利数据监控
产业人才
行业动态
产业政策法规
维权援助
个人中心
详情
文本
图像
标题
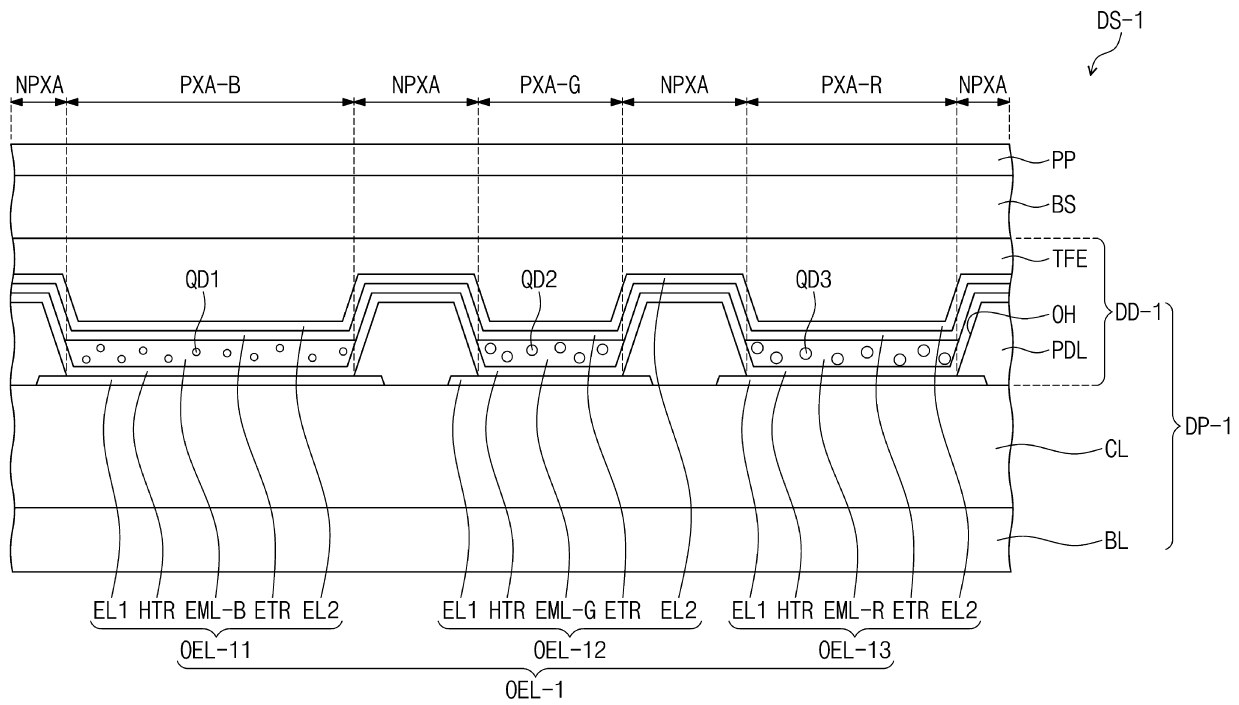
표시 장치 및 표시 장치에 포함된 광 흡수제
授权日
1900-01-01
公开(公告)号
KR1020200040166A
申请日
2019-02-21
公开(公告)日
2020-04-17
当前申请(专利权)人
삼성디스플레이 주식회사
发明人
윤원민 | 김동준 | 김이수 | 김종우 | 박응석 | 이병덕 | 정은재 | 주용찬 | 한상현 | 김영국 | 황석환
简单同族
KR1020200040166A
简单同族成员数量
1
简单同族被引用专利总数
0
诉讼案件数
0
法律状态/事件
公开
抱歉,您的浏览器不支持PDF预览,请点击链接下载PDF文件