专利数据库
统计分析
产业报告
专利数据监控
产业人才
行业动态
产业政策法规
维权援助
个人中心
详情
文本
图像
标题
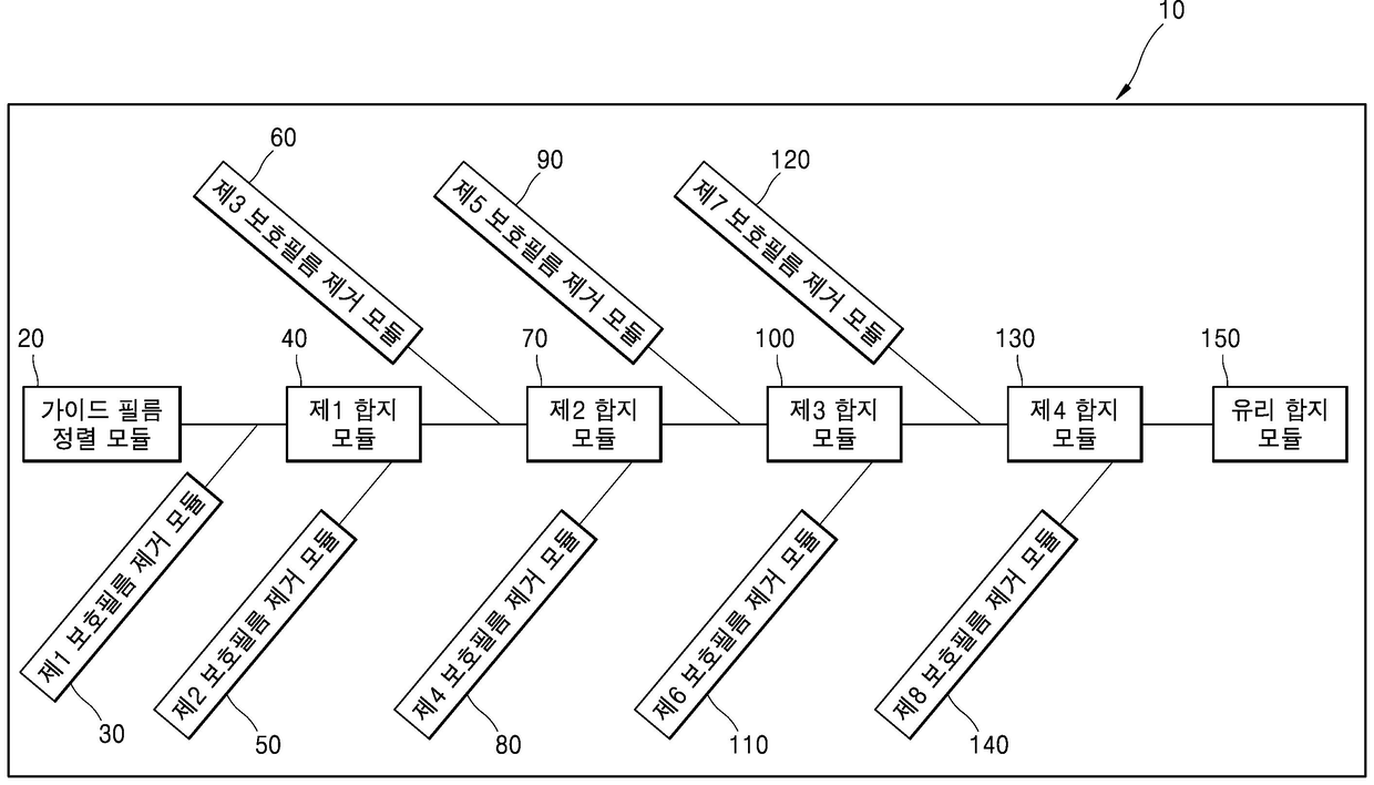
모바일 디스플레이용 유기발광다이오드 모듈 합지 장치
授权日
2018-05-14
公开(公告)号
KR101859703B1
申请日
2018-02-07
公开(公告)日
2018-05-18
当前申请(专利权)人
주식회사 진우엔지니어링
发明人
차성운 | 장상욱 | 정문관
简单同族
KR101859703B1
简单同族成员数量
1
简单同族被引用专利总数
0
诉讼案件数
0
法律状态/事件
授权
抱歉,您的浏览器不支持PDF预览,请点击链接下载PDF文件