专利数据库
统计分析
产业报告
专利数据监控
产业人才
行业动态
产业政策法规
维权援助
个人中心
详情
文本
图像
标题
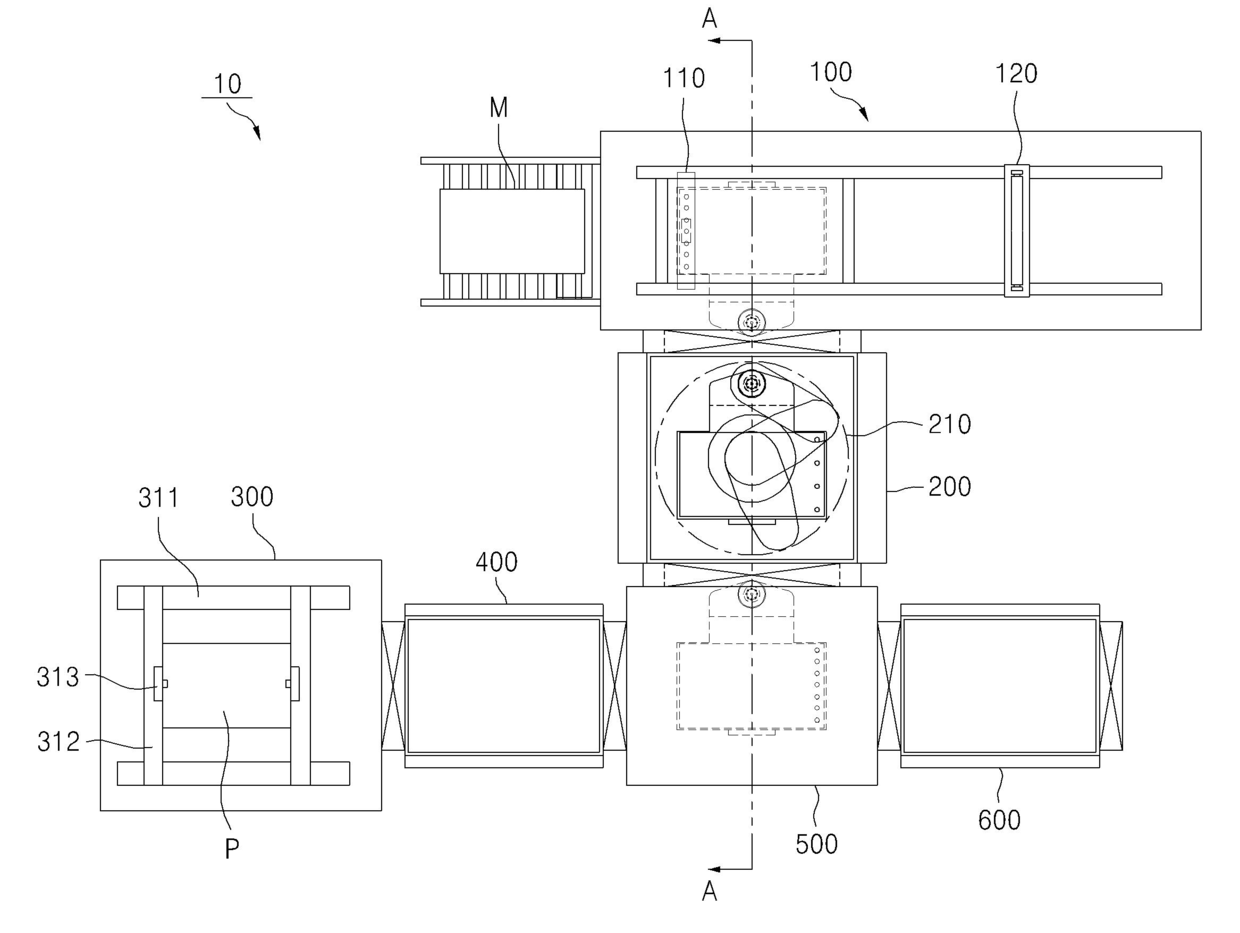
플라즈마 발생기 및 이를 구비하는 OLED패널의 봉지장치
授权日
1900-01-01
公开(公告)号
KR1020130059636A
申请日
2011-11-29
公开(公告)日
2013-06-07
当前申请(专利权)人
주식회사 에스에프에이
发明人
박남 | 허무용
简单同族
KR101306609B1 | KR1020130059636A
简单同族成员数量
2
简单同族被引用专利总数
0
诉讼案件数
0
法律状态/事件
授权
抱歉,您的浏览器不支持PDF预览,请点击链接下载PDF文件