专利数据库
统计分析
产业报告
专利数据监控
产业人才
行业动态
产业政策法规
维权援助
个人中心
详情
文本
图像
标题
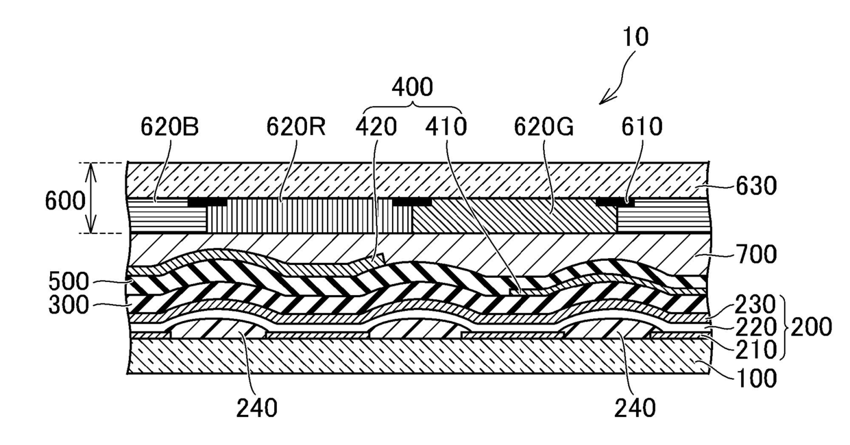
표시 장치
授权日
2017-01-05
公开(公告)号
KR101695599B1
申请日
2016-08-01
公开(公告)日
2017-01-11
当前申请(专利权)人
가부시키가이샤 재팬 디스프레이
发明人
사또도시히로 | 이또료이찌
简单同族
CN104517991A | CN104517991B | CN108549506A | JP2015050245A | JP2015050245A5 | JP6253923B2 | KR101695599B1 | KR101716934B1 | KR1020150026921A | KR1020160097170A | TW201508404A | TWI553387B | US10170727 | US20150060817A1 | US20170222180A1 | US20190109296A1 | US9660003
简单同族成员数量
17
简单同族被引用专利总数
105
诉讼案件数
0
法律状态/事件
授权
抱歉,您的浏览器不支持PDF预览,请点击链接下载PDF文件